Radio Boulevard
Western Historic Radio Museum
 

Collins Radio Company

51J Series of Receivers - Part 2
 

51J "Oddities," 70E-15 "M" PTO vs "CR" PTO, BFO Inversions, Break-in Set ups,
Details on Common Problems, Freeing Stuck Trimmers, Restoration Tools,
Repairing the 70E-15 "M" PTO, Rebuilding the 51J-2,
Rebuilding the 1951 R-388 "Basketcase," 1952 R-388 in CY1260/G Receiver Case
 

by: Henry Rogers WA7YBS


51J-2 B&W Artwork from the Manual - 1950

 

PART 2

 

51J Series - Oddities

No receiver is perfect and the 51J Series receivers do have a few "oddities" that can cause user frustration during set-up and operation. The sloping top on all 51J receivers almost necessitates using some type of cabinet if you like to utilize the area on top of the receiver for various accessories. The Oldham coupler can cause some minor backlash issues in the tuning. The five "oddities" that cause the most problems are covered below. The PTO end-point error is probably the most serious issue but, luckily, it almost always only affects the R-388. The PTO serial numbers involve both the R-388 and the 51J-4. The Break-in is a headache but only affects the R-388, 51J-3 and 51J-4. The BFO "inversion" will complicate selecting the proper upper or lower sideband and is a function of the front-end design so it affects all versions of the 51J receivers. The audio issues are integral to the 51J design and affect all versions on the 51J Series. The R-388, 51J-3 and J-4 might cross-modulate in the presence of a strong RF field when used with a large, non-resonant antenna.

The 70E-15 Uncorrectable End-Point Errors

The R-388 was the first receiver to use the new 70E-15 PTO. Over the years, the 70E-15 has developed a deserved reputation of being difficult to adjust and never being accurate. It has long been thought that the type or mix of ferrite used for the PTO core had aging problems that didn't show up immediately. But, just how long did it take for the uncorrectable end-point errors to develop? One clue would be Bill Orr's Ham Radio magazine article on the 70E-15 PTO and its EPE errors and how to correct them. That write-up was from December 1969, long after the R-388 contracts had ended and long after the last of the 51J-4 receivers had been built. It's very likely that the 70E-15 EPE problems really developed into serious problems around the late-1950s, long after the major quantities of R-388 had been already built (the last contract for R-388 receivers was a small one in 1962 but the majority of R-388 receivers were built from 1951 through 1953.) 

As it became apparent that something in the 70E-15 was causing an ever-increasing number of PTOs to develop uncorrectable end-point errors, meaning that the normal L trimmer adjustment had insufficient range to bring the PTO back into specification, the first thought was that the aging ferrite core was causing the problem. It should be pointed out that all types of Collins PTOs will change calibration over time and it was expected. That's why the L-trimmer was provided. It's probably also why the 70E-15 PTOs were "sealed in a vacuum" and why Collins urged that PTOs must be returned to Collins for calibration correction where the vacuum seal was the last step in the process before the corrected PTO was returned. However, the PTOs weren't returned to Collins very often and therefore most PTOs had their vacuum seal lost with the first adjustment correcting the EPE and thereafter the components inside, including the ferrite, were exposed to the air and moisture which could then "age" the PTO differently than Collins had anticipated.

I don't think that there ever were any changes made to the 70E-15 because by the time the uncorrectable EPE problem became apparent all major production of receivers that used that type of PTO had ceased. Collins probably realized that the problem wasn't something that developed quickly. It took about ten years for the ferrite aging and the uncorrectable EPE errors to even become noticed. While the ferrite core might develop the EPE problem just by aging, it seems that the operational environment, where the R-388 receivers were often turned on 24/7, could also have been an important part of the cause, perhaps accelerating the problem. Since the R-388 contracts were mostly completed and the 51J-4 production was slowing down by the time the excessive EPE problems became widely known, Collins certainly wouldn't have put too much time into analyzing a problem that didn't affect current production and really took about a decade to "show up" in out-of-production receivers and then only in receivers operated 24/7. Collins did produce a write-up specifically on the 70E-15 PTO around 1959 but exactly what is covered in that document is currently unknown (I can't find it on the Internet or from CCA. It's mentioned in a Hollow State Newsletter but apparently Dallas Lankford couldn't find a copy of it either.)

About the only research on the 70E-15 problem has been by collectors, starting with Bill Orr back in 1969. Orr's solution of removing one turn on the L-trimmer has been the "fix" necessary to return the 70E-15 to its normal accuracy. What I've noticed, although my examples are certainly limited, is that nearly all R-388 receivers (12 receivers examined) had excessive EPE and out of three 51J-4 receivers examined, none had uncorrectable EPE. With the 51J-4 being a civilian receiver it was much less likely to be operated 24/7 and therefore the heat-build up never happened with the result being that the 70E-15 PTOs in 51J-4s are seldom found with excessive EPE that can't be corrected with just a standard adjustment of the L-trimmer. This means that nearly ALL R-388 receivers will have a 70E-15 PTO with excessive EPE due to the 24/7 operation of the receiver. Of course, a point could be made that the R-390 and R-390A PTOs, the 70H-12, were designed to operate inside an oven and these PTOs are never found with excessive EPE that can't be adjusted out. Collins could and did produce the 70H-12 for a heated environment so why would the 70E-15 be adversely affected by 24/7 heat build-up? The 70H-12 was "pressurized" with nitrogen, an almost inert gas, which might have had something to do with the longevity of the PTO calibration but, like the 70E-15, the first EPE adjustment releases the N2 and air enters the PTO (I've only found one 70H-12 that still had N2 pressure when I removed the plug to adjust the EPE - an excellent seal that lasted for decades - but still, the EPE needed a slight "touch-up" after those decades.) For the 70E-15, this again points to the combination of the ferrite core mix along with 24/7 operation and perhaps loss of vacuum accelerating the aging and, even then, a problem that really didn't develop for almost a decade. The upshot is that ANY 70E-15 PTOs might be found with uncorrectable EPE problems but almost all "problem" PTOs will be found in R-388 receivers and rarely found in 51J-4 receivers.

The good news is Bill Orr's solution is a relatively easy "fix" for the excessive EPE problem found in R-388 receivers. The other good news is that ALL 51J-4 receivers have their 70E-15 PTO identified with a "CR" or "C.R." suffix added to the serial number. ALL R-388 receivers have their 70E-15 PTOs identified with a "M" prefix to the serial number. There are 70E-15 PTOs that don't have a prefix or a suffix on the serial number. These PTOs have been found in 51J-3 receivers and also later as replacement spares. So, even if the PTO has been removed from a receiver, it's still possible to tell in which receiver the PTO was used. I don't believe there was any difference in the specs or the performance between the "M" and the "CR" PTOs or the PTOs without prefixes or suffixes. The letter suffixes and prefixes were only an identification that showed in which receiver that particular 70E-15 was installed.  >>>

R-388 "M" PTOs

1951 R-388 PTO with "M" prefix serial number

1953 R-388 SN:4991 PTO with "M" prefix SN


1953 contract R-388 (no data plate - break in sw) Late SN PTO with "M" prefix

>>> Now, I've found R-388 receivers with the "M" PTO that haven't been worked on and didn't have an EPE that couldn't be adjusted to <1kc, but it's very rare (1 out of 12 receivers examined.) Nearly all R-388 receivers (that haven't had the PTO worked on) will have an end-point error greater than 6kc which is just beyond the compensation adjustment. Nearly all "M" PTOs that I've tested have been in the 8kc to 12kc area of EPE. The worst one I've ever tested was barely working and had an EPE of 30kc! The best 70E-15 I ever tested was a NOS spare that was found still in the original box. This PTO had no EPE! The NOS PTO does seem to indicate that long-term heat from 24/7 operation is responsible for the change in the ferrite core that causes the "M" PTO EPE problems, not just aging. It's also possible that since the NOS PTO hadn't ever been adjusted, it was still a "sealed vacuum" environment and that slowed the aging of the ferrite. Another point, if your initial testing of the PTO shows, for example 3kc EPE,...you don't really know if it's been adjusted before and that's the best achievable EPE "as-is." So, testing and some L002 (EPE compensation trimmer inductor) adjusting will be required to determine the actual PTO condition.

51J-4 "CR" PTOs


PTO in 1960 51J-4 SN:4723 showing the "CR" suffix


PTO in 1959 51J-4 SN:3805


PTO in 1956 51J-4 SN:1616

70E-15 "M" and "CR" Serial Numbers - More Info and Production Discrepancies

70E-15 PTO Serial Numbers in General - First, I don't believe there was any difference in specifications or performance between the "M" or the "CR" PTOs. 70E-15 PTOs are all the same. The letter suffixes and prefixes were just an indication of which receiver the PTO was installed in. It seems that the PTO label was probably serialized and installed during the calibration of the PTO. Since there appears to have been at least two different serial number rosters, "M" and "CR" must have been either stocked separately or the PTOs were calibrated for the particular receiver during assembly. There is evidence that many PTO serial numbers didn't have either a prefix or suffix and just had numbers. Although there aren't many examples of the "no prefix/suffix" PTOs, it's possible they were serialized using the same "M" roster numbers and just the "M" prefix not used since the PTO wasn't installed in a R-388 receiver. The early "no prefix/suffix" PTOs have been found in 51J-3 receivers with PTO serial numbers of 945 and 5991. Exactly when the use of the "CR" started isn't known at this time but it was probably near the end of 51J-3 production or perhaps at the beginning of the 51J-4 production. The 70E-15 PTO serial numbers appear to be a sequential block of numbers within the "M" prefix and another sequential block of numbers within the "CR" suffix units. All 70E-15 PTO serial numbers examined, so far, seem to show an ever-increasing progression of the associated block numbers assigned as the receivers they are found in are obviously of later and later manufacture. The highest PTO "number" I've seen so far has been 11802. It's usually estimated that about 12,000 R-388 receivers were built and the quantity of "M" PTO serial numbers seem to agree with that estimate. The 70E-15 PTO "M-11254-C8" is the highest serial number actually marked with a "M" prefix, seen so far. All indications are that only the 70E-15 "M" PTOs were installed in R-388 receivers and that would imply that just over 11,000 R-388 receivers were produced.

The 51J-3 seems to have used the 70E-15 with "no prefix/suffix" serial numbers, the 51J-4 always used the "CR" PTO and all R-388 receivers have "M" PTOs installed. The 51J-4 PTO serial numbers start at 1500 "CR" PTOs but that could just be when Collins started putting "CR" on the "no prefix/suffix" PTOs. If the "no prefix/suffix" PTOs were serialized from the "M" roster, they would be part of the 11,000+ PTOs used in R-388/51J-3 receivers. The "CR" PTOs should account for about 7500 PTOs installed in the 51J-4 production (with PTO SNs from 1500CR to 9000CR.) This amount of PTOs is approximately equal to the estimated R-388/51J-3 and 51J-4 production total, or about 20,000 receivers.

Very Late Serial Number 70E-15 PTO - Sometime after the R-388 contracts ended and the last 51J-4 receiver was built, the "CR" suffix or the "M" prefix were dropped because any 70E-15 PTOs required or sold would be considered "spares," that is, replacement 70E-15 PTOs. One example of the "spares" 70E-15 PTO was found in a "R-388 to 51J-4" conversion (installation of the 354A-1 Mechanical Filter Kit.) The serial number on this PTO is 11277. It's possible that the mechanical filter kit and the PTO were both purchased from Collins specifically for this conversion that probably was performed after the R-388 became an affordable surplus receiver. Since the last R-388 contract was in 1962 and the last 51J-4 was in 1964, a good guess for this PTO would probably be about 1965. Since this PTO was a replacement and was "new" in 1965, it's interesting that this later 70E-15 PTO has a tested EPE of 7.5kc! This was totally unexpected! But it does seem to confirm that no changes were ever made to the type of ferrite used for the cores and something else, like excessive heat from 24/7 operation, affects the majority of PTOs used in R-388 receivers but doesn't seem to affect 51J-4 receivers. The "conversion receiver" did have many indications of hours and hours of use meaning that the receiver was used as a commercial monitor (post-conversion) where it was probably operated continuously (although I knew a ham once that left his equipment powered up 24/7,...he didn't use it all the time,...but the equipment was always "on" and ready to be used. Of course, his vacuum tube equipment failures required constant maintenance.) 


70E-15 SN: 11277
This PTO was installed in a 1951 R-388 that was converted into a 51J-4 with a 354A-1 kit


1968 70E-15 PTO  SN:11802

An Even Later 70E-15 PTO - This NOS 70E-15 PTO turned up on eBay on June 14, 2023. What is important about this PTO is that the Tested card and QC record card were included (and photographed.) The PTO serial number is shown on the PTO as 11802. It's also shown on the cards as Mfg. No. 11802. What's very interesting is the date,...1068. This is a date code that indicates the 10th week of 1968, or from about the first week in March, 1968. The serial number 11802 is 525 units higher than 11277 shown above. This seems to confirm that 11277 is from the "mid-1960s." It's also interesting that 525 units earlier and the 70E-15 PTO was still using the old original style orange label but by 11802 a new style transparent label (or silk screening) was being used. Note the serial number is an ink-stamped number. Also note the Collins "Meatball" logo. Also note the prefix "MCN" that's part of the silk-screen label. The TESTED O.K. card has 11802 shown as the Mfg No. and the acceptance stamps have "CR TEST" (one would assume "Collins Radio Test.")

NOTE: One of these types of PTO (labels) is installed in 51J-4 SN:6977 but unfortunately the SN of the PTO isn't visible in the photograph. This 51J-4 also has S-line knobs installed.


11802 Inspection Cards

70E-15 PTO SN: M 11254 C.R.

Another 70E-15 "M" PTO with 11,000+ Serial Number,...or is it a "CR" suffix?  - This PTO showed up on eBay on July 7, 2023. The serial number has the "M" prefix indicating it was installed in a R-388. However, there's also a suffix of "C.R." that indicates it was for a 51J-4. There appears to be no MFP on the unit. The 11254 number is the highest "M" serial number seen that actually has the "M" prefix, so far. It's also a very high number for a J-4 "CR" PTO. Unfortunately, only the PTO exists so the receiver it was removed from is unknown. This PTO should date from the early-1960s. Note that this SN is just 23 units higher than the replacement PTO installed in the R-388 with the 354A-1 MF kit installation. As to why it has both the "M" prefix AND the "CR" suffix are on this PTO? Confusion at Collins?

UPDATE: Sept 29, 2023 - I ended up purchasing this very PTO off of eBay when the seller lowered the price to $30. I'll be adding some test information on this "M" or "CR" PTO. It will be especially interesting to see what the end-point error is.

EPE Test Results: - Not so good,...15kc EPE. Second highest I've seen that still works.

The Argument for "M" and "CR" Having Specific Serial Number Blocks - An interesting anomaly can be seen in the 1953 R-388 PTO sn: M3308 (shown above upper right) compared to the 1956 51J-4 PTO with sn: 3115CR (shown above lower right.) It appears the earlier receiver has a later PTO if just the "numbers" are used. It's interesting that the actual serial numbers of these two PTOs are separated by only 192 units and yet 3308 has the "M" prefix indicating it was for a R-388 and 3115 has the "CR" suffix indicating it was for a 51J-4. It seems probable that "M" and "CR" PTOs each had their own blocks of numbers. Another interesting comparison is between the 1953 R-388 with PTO sn M6897 and the 1960 51J-4 with PTO sn 6667CR. Again, this comparison seems to further indicate that "M" PTOs used their own block of numbers and "CR" PTOs used their own block of numbers.

Although a third block of serial numbers for "no prefix/suffix" PTOs would seem unlikely, anything is possible with Collins and their methods of serializing. 

51J-3 - At the moment, I'm not sure about genuine 51J-3 receivers since I've never inspected an authentic one in person. The two confirmed 51J-3 serial numbers with PTO serial number information seem to indicate that the 51J-3 used a PTO that was serialized with just a number, no letter prefix or suffix. The two PTOs are serial numbers 945 and 5991. These numbers seem to imply that the 51J-3 used the same PTO serial number roster as the "M" PTOs but didn't use the "M" prefix since that was exclusively for R-388 receivers. If the 24/7 long-term heat is partly responsible for the excessive EPE problem in 70E-15 PTOs, then the 51J-3 PTO should behave like those found in the 51J-4.

The 70E-15 SN: 945 from the 51J-3 with Collins production number 6636 is shown to the right. IF the Collins Mfg SN on all R-388/51J-3 receivers had a relationship to Order Numbers on the R-388 series contracts then Collins SN:6636 would seem to be from early 1952,...but, that's a lot of assumptions.

More details on how to correct excessive EPE in the PTOs is in the section "Reworking the 70E-15 'M' PTOs" further down this page.


70E-15 PTO SN:945 from 51J-3  Collins Mfg SN: 6636

More 70E-15 Info - Here's a photo of a 51J-2 receiver with a 70E-15 PTO installed in place of the original 70E-7A PTO. Note a couple of interesting things about this 70E-15,...first, the serial number is 72. It must have been among the first ones made. Next, note that there isn't a "M" prefix or a "CR" prefix. The final interesting point is this particular 51J-2 receiver was a Collins Laboratory receiver. It has the light gray front panel. It also has the Collins asset number engraved on the upper right corner of the front panel. There's no question that Collins performed this upgrade of installing the 70E-15 PTO into this 51J-2 receiver. The serial number of the 51J-2 receiver is 650.

Break-in Operation for the R-388, 51J-3 and 51J-4 - What a Headache! - Perhaps the most inconvenient requirement for the R-388, 51J-3 or the 51J-4 is how to provide the Break-in function. Break-in requires an external +12vdc 200mA source that is switched "on" when in the "transmit" mode to isolate the receiver input and to mute the audio output. Inside the receiver, relay K101 is operated by the Break-in voltage and the relay contacts disconnect the antenna input line, ground the receiver input circuitry and also remove the voltage from the IF amplifier plates to mute the receiver. There is also a neon bulb as a protection device on the antenna line but this is mainly a static voltage drain and not intended to handle large amounts of RF energy. Break-in should be used when the receiver is paired with a transmitter and both are using the same antenna switched by an external T-R relay. Usually, the T-R relay does provide positive isolation and many Dow-Key T-R relays had an additional spring-loaded contact switch inside the receiver-side coaxial fitting barrel that further increased receiver isolation. These types of T-R relays afford protection when used with the Standby position for muting in the short term and it's fine for testing and preliminary set-ups but, ultimately, the permanent set-up should be using the Break-in with the T-R relay to provide a positive "double" disconnect of the antenna line and providing the grounding that protects the receiver input,...just in case there's a T-R relay failure and arcing happens inside the relay. 

IMPORTANT NOTE: The front panel STAND BY position does not actuate the Break-in relay. The Break-in relay can ONLY be operated by applying +12vdc Break-in voltage to pins 2 and 3 of the REMOTE terminal strip (pin 1 provides a ground for a cable shield.)

NOTE 1 - If you can't use an external +12vdc for Break-in: There are a couple of methods that provide the +12vdc "Break-in" within the receiver. Either a small power supply mounted under the chassis of the receiver or a voltage doubler circuit that runs off of the 6vac tube heater supply. Since < 200mA is required to operate the relay K101, very small components can be used for either power supply circuit.  See "R-388 Expected Performance and Operation" further down in the "Rebuilding the R-388/URR Receiver" section.

NOTE 2 - Sensitvity down on 80M and 40M?: If your R-388 or 51J-4 receiver seems to have somewhat less sensitivity on Bands 4 through 7, which happens to be the bands that include the 80M and 40M ham bands, check L-104 for burn marks and for its DC resistance. Refusal by some hams to use the "Break-in" function and instead relying on a T-R relay for isolation (along with using the STAND BY for muting) can lead to accidental high levels of RF making it to L-104, the Antenna coil for Bands 4-7, causing damage. Typically, the receiver still works but sensitivity will be down on Bands 4-7. A check will involve testing reception levels on Bands 8 and higher and noticing an increase in sensitivity on those bands. Also, check the response using the Calibration function. If received signals seem down on 4mc but switching in the Calibration oscillator shows a good response on the CL meter, then suspect damage to L-104 from excessive RF levels (and not using Break-in.) The Calibration oscillator is injected at the grid of the RF amplifier tube which is after L-104 in the signal flow, so, the poor sensitivity on an antenna but a good CAL response might indicate L-104 damage. Be sure in your testing that the lack of sensitivity isn't due to an antenna mismatch. The final test and confirmation requires using a RF signal generator to input known signal levels and to actually confirm that the sensitivity is down on Bands 4-7. When inspecting L-104, often excessive RF damage can be seen as melting, discoloration or burn marks on the coil. Sometimes the excessive heat will only change the DC resistance of the wire of the coil and the damage shows up as an increase in the DCR of the coil. Another observation is that even though the damage may have happened during 80M operation, the damage also affects 40M sensitivity and vice-versa.

NOTE 3 - The 51J-1 and 51J-2 have conventional stand-by provisions providing external relay connections that parallel the front panel STAND BY switch. The auxiliary contracts on the T-R relay can provide the remote Stand By function. There isn't any antenna input protection circuitry provided in these early version receivers.

BFO/IF "Inversion" - Selecting Upper or Lower Sideband with the 51J - The double conversion process in the 51J circuit involves mixing the incoming RF with a Crystal Oscillator (using fundamental and harmonic frequencies) to create Odd and Even Bands for the dual Variable IF that are in turn mixed with the PTO output. The PTO tunes from 3.0mc to 2.0mc but the Even Bands use the Variable IF that tunes from 1.5mc to 2.5mc. This requires using the formula PTO f - Vari IF = +500kc fixed IF (mid-range example 2500kc-2000kc=+500kc.) However, an Odd Band uses the Variable IF tuning 2.5mc to 3.5mc and this requires using the formula PTO f - Vari IF = -500kc fixed IF (mid-range example 2500kc-3000kc= -500kc.) The 500kc fixed IF signal is actually changing phase (180º) between Odd Bands and Even Bands. Since the BFO is a 500kc oscillator heterodyning with that 500kc IF, when the 500kc fixed IF phase changes, the BFO phase relationship inverts. This shows up, for example, as tuning in an USB 14.200mc SSB signal will require the BFO to be to the right of the center index line for proper demodulation. But, if an USB 15.035mc SSB signal is tuned in then the BFO must be to the left of the center index line for proper demodulation. Since there aren't any calibration index lines to comprise a scale for the BFO position, the 51J design never intended using the BFO for selecting a specific sideband nor in providing a "calibrated position" for the BFO (as with the later R-390 and R-390A.) It's really not that much of a problem but it's something that's noticed quickly when first operating a 51J receiver nowadays and tuning in SSB signals.
It's easy (if you use the receiver a lot) to remember that on Odd Bands USB reception will require the BFO index to be to the left of the center mark. If you're on an Even Band, USB will require the BFO index to be to the right of the center mark. Or,...since 80M and 40M are both Odd Bands and LSB is normally used there, have the BFO index to the right of the center mark for those two ham bands. But, 15M is also an Odd Band but USB is normally used there so the BFO index is set to the left of the center mark for 15M. Even Bands are 20M, 17M and 10M and all typically are USB so the BFO index is set to the right of the center mark for those ham bands. The upper portion of 10M is an Odd Band so BFO to the left for USB. It sounds confusing but once you've operated the receiver a few times on SSB with taking into account the BFO inversion between Odd and Even Bands, selecting the proper sideband is easy (see drawing to the right.)

IMPORTANT NOTE: You have to be sure that the BFO knob index is mounted correctly on the BFO shaft. Setting up the correct BFO knob position is covered in detail in any of the 51J receiver's alignment procedure. The basic set up is to first rotate the BFO knob one full turn clock-wise, then continuing C-W, set the BFO to the highest frequency (fully unmeshed C) then, without moving the BFO shaft, mount the BFO knob so its index is at 90º C-W from vertical. Then set the BFO index to vertical and align the BFO coil assembly adjustment to 500kc. With this setting, if the BFO is rotated from index-vertical to the right (or C-W) the BFO frequency will increase from 500kc. If the BFO is rotated from index-vertical to the left (or C-C-W) then the BFO frequency will decrease from 500kc.


BFO Position for Sideband Selection

Even Collins had a hard time with the Odd-Even Band changes and the relationship with the BFO operation. When the 51J was designed at the end of WWII, a BFO was only used for CW reception and, since a CW signal has no sidebands, the position of the BFO didn't matter as long as it provided a heterodyne. By the time the 51J-4 was introduced, SSB had been developed and was being promoted by Collins. The 51J-4 manual has a specific set of instructions for determining what Collins thought was the proper setting of the BFO for SSB signals when using the J-4. The procedure requires determining center frequency of a marker signal and then tuning below the f center for a carrier level drop of 18db and then adjusting the BFO CCW for zero beat and noting the knob's index position. The same procedure is again performed with by tuning above f center for an 18db drop and tuning the BFO CW for zero beat and noting the knob's index position. NOTE: It's strange that the Collins instructions actually states the signal levels and the signal drop as "3 S-units" and, of course, all of the 51J-4 receivers had Carrier Level meters that read in "db over" but Collins did provide the 18db level in parentheses. The instructions finish up by stating that if the SSB signal can't be demodulated with the BFO in the proper CCW position then rotate the BFO control to the proper CW position. In other words, there's no specification of either "upper" or "lower" sideband mentioned since obviously that changes depending on whether the band being used is Odd or Even, which isn't mentioned either. It must have become too convoluted to explain at a time when SSB transmissions were just becoming popular and just beginning to be heard on the air, so Collins avoided it altogether. It also seems strange that Collins (at the time) didn't mention the BFO inversions since this changing BFO relationship would have affected reception of RTTY FSK signals. The BFO position determines whether the RTTY FSK signal is going to be received "Mark high f" or "Mark low f." Of course, it depended on the type of RTTY TU. Those TUs that ran off of the IF and supplied their own BFO might not have been affected. However, some of the TUs were audio input types and relied on the receiver BFO. These would have definitely been affected by the Odd-Even BFO inversion but most RTTY audio TUs had the ability to invert the relationship, if necessary, for this very reason. Since the BFO inversions are a product of the Vari-IF and PTO relationship, they will be experienced with all versions of the 51J series. I guess it's just one of the 51J "oddities."

Communications-grade Audio, Loudspeakers and External Audio Amplifiers for the 51J Series - If you're expecting high fidelity audio from any of the 51J receivers, you're in for a disappointment. The initial intent of the receiver was communications and especially for receiving data-type transmissions. Communications-grade audio response was generally considered 300hz to 3000hz for voice transmissions. For CW or data, the audio bandwidth could be much narrower. Most military transmitters (and most amateur transmitters at the time) that were used for voice communications kept the audio response approximately from 300hz to 3000hz. This was to assure that the best intelligibility was available at the receiving-end. Voice transmitters, if their audio response was set up to favor the lower voice frequencies, would have to lower the audio gain level in the speech amp which in turn lowered level of modulation. The voice's low frequencies have a lot of "speech power" that would easily cause over-modulation. Most amateur and military voice transmitters were fairly low power and if they were set up with "bassy, low-modulation level" audio, the signal intelligibility would be lost and copy would be difficult, if not impossible. All 51J-1 and 51J-2 receivers have audio specification of 200hz to 2500hz at -6db down. Additionally, the 51J-1 and 51J-2 have a very narrow IF bandwidth of about 4kc at -6db. The R-388, 51J-3 and 51J-4 have audio specifications of 200hz at -3db down on the low end and 2500hz at -7db down on the high end with an IF bandwidth of about 6kc at -6db and 1.5 watts available audio power at less than 15% distortion. The 51J-4 widened the IF band width a bit more than that, using a 3pf IF coupling C where the R-388 used a 2pf IF coupling C, and added mechanical filters to the 500kc fixed-IF that actually determined the band width and created a steep-sided, flat topped bandwidth that, while great for selectivity, created serious audio issues in the AM mode using the 6kc mechanical filter. Certainly not impressive audio specs from any of the 51J Series,...especially if you're an audiophile. But, the 51J receivers are "communications receivers" and their audio specifications are appropriate for that type of end-use.

All of the advertising or the manuals never specified a particular matching speaker for any of the early 51J series of receivers. The 51J-1 and J-2 manuals provide dimensions of the intended loudspeaker and these dimensions describe the Collins 270G-1 (used an 8" loudspeaker.) The 51J-4 manual actually specifies the 270G-3 loudspeaker. The 270G-3 used a 10" loudspeaker. During early production there was a 270G-2 10" loudspeaker available. There is conflicting information out there (even from Collins) but it seems that the 270G-2 was identical to the 270G-3 with the exception of the three small vertically-spaced holes towards the front on each side of the cabinet for installing rack-mount brackets. Some sources say it's the other way around, that is, the 270G-3 had the rack bracket holes but the 1959 Collins production catalog shows the 270G-3 loudspeaker without the mounting holes for the rack brackets. Also, in the 1959 Collins catalog the 270G-3 is listed as 6-8Z ohms however actual impedance measurements of original loudspeakers will normally show they are 4Z voice coils. Note that this is a nominal impedance shown and that would vary depending upon how the measurement is made, specifically the frequency employed. Figure that the impedance specified is "NOMINAL" and whether the testing shows 4Z, 6Z or 8Z, all 270G-3 loudspeakers sound great when connected to the 4Z output terminals of any 51J receiver. R-388 receivers were generally used for specific military set-ups such as RTTY or other data transmissions where a loudspeaker would be part of a larger, rack-mounted collection of equipment. In addition to the rack-mounting option of the 270G-2, there also was a rack mounted dual speaker system available for diversity RTTY set-ups. There was a USN version of the R-388 referred to as the AN/URR-23-A that came in a standard Collins cabinet, CY-1235/U and included the 270G-3 speaker (mil ID: LS-199/U.) The 51J-2 was also supplied in a similar fashion and designated as the AN/URR-23 (no -A.)

For a vintage mil-rad station, perhaps the easiest speakers to find (that are period and manufacturer correct) would be either the Collins 270G-1, an 8" speaker, or the Collins 270G-3, a 10" speaker. The 270G-1 was typically supplied with the 75A-1 receivers and the speaker cabinet had the Collins "winged" emblem on the front with chrome trim strips with a felt-flocked perf-metal grille (usually a sort of brownish-maroon color.) The 270G-1 also has a serial number tag mounted inside the cabinet showing the model designation and the serial number. The 270G-3 was typically supplied with the 75A-2, 75A-3 and 75A-4 receivers and these cabinets don't have the Collins WE and have black trim strips with an white-cream color felt-flocked grille. The 270G-3 doesn't have a serial number tag and wasn't assigned a serial number. Either of these Collins speakers are fine sounding, communications-grade reproducers and, though usually outrageously expensive, they are easy to find. However, any 4.0Z speaker will function fine with the 51J receivers. There's not too much of an advantage in using a high-quality, large diameter speaker installed in a bass reflex cabinet because the audio output circuitry of any of the 51J Series receivers was always "communications grade" in quality. The audio range available with all 51J receivers lacks any significant bass since the audio output frequency response was rolled-off starting at 200hz on the low end and the upper limit roll-off was at 2500hz while the audio power can only produce about 1.5 watts maximum. Even the latest version, the 51J-4, still has audio that was specified as 200hz at -3db down to 2500hz at -7 db down in the manuals with the 1.5 watts output power maximum (at <15% distortion.) These less-than-impressive specifications will become more and more apparent with better quality, high fidelity speaker systems. Using the 600Z output to drive a loudspeaker through an appropriate matching transformer is also an option. Using a good quality transformer and a typical 8Z or 4Z loudspeaker will result in typical communications audio reproduction. I do use the 600Z output from the front panel SPEAKER jack to operate a rack mounted loudspeaker with dual R-388 rack-mounted receivers. The resulting audio is a little thin due to the open rack nature of the loudspeaker but the communications quality is excellent.

With the very late R-388 receivers and all but the earliest of the 51J-4 receivers, the Diode Load was brought out to the rear chassis apron as a test point jack. It would be possible to use a shielded cable connected to the Diode Load and run that to the input of a High Fidelity audio amplifier (using the aux. input or some other fairly Hi-Z input) to drive a quality loudspeaker. You would lose the Noise Limiter function but it was designed for repetitive pulse noise that isn't heard very much nowadays. Also, the 51J-4's 6kc mechanical filter will still be limiting any high quality AM reproduction so very few enthusiasts have bothered with the external Hi-Fi amp set-up. However, it does depend upon what type of stations are listened to. AM Broadcast from local stations will sound pretty good on a J-4 if the receiver is tuned to the carrier plus one sideband allowing the audio to go up to about 6000hz (theoretically,...and since AM-BC stations are limited to a 10kc bandwidth their transmitted audio should only be up to about 5000hz,...theoretically.) Since there's no fading or phase distortion with ground wave signals, this type of reception might benefit from an external audio amplifier with bass and treble controls to enhance the audio frequency response. Any SW-BC or AM ham transmissions will be subject to skywave propagation conditions and lack-luster signal strength that usually seriously affects audio quality. Limitations on any local AM-BC would be in the program material and that's pretty much the same for any AM-BC or SW-BC. 

Since the 51J receivers have always been considered "communications receivers," it's not unexpected that the standard Collins communications-grade loudspeakers, the 270G-1 or the 270G-3, will give the best results when used with any of the 51J receivers.

Cross-Modulation with R-388, 51J-3 and 51J-4 - The first receivers, the 51J-1 and 51J-2, used RF transformers in the Ant/RF input section of the receiver but this resulted in a fixed antenna input impedance of 300 ohms. The Army found this terribly inconvenient since most of their antennae were whip verticals or dipoles with impedances a lot less than 100 ohms, let alone 300 ohms! Collins modified the RF/Ant input section when implementing the changes needed for the R-388 receiver. The change removed the primary winding on the coils and just used a parallel LC for tuning the Ant/RF along with adding an Antenna Trim to allow matching the antenna low impedances better. It all works fine except if there's a really strong RF field present. This could be a nearby AM-BC station or a neighboring ham running a high power transmitter. To have a strong enough RF level that could cause cross-modulation generally requires using a very large random length wire antenna that's directly connected to the receiver antenna input. The receiver's parallel LC Ant/RF input section doesn't have much selectivity and that's why it's possible for cross-modulation to happen if the RF field is sufficiently strong. The Army used mostly whip antennae and so it wasn't much of a problem for them. I've heard about this cross-modulation problem with the R-388 but I've never experienced it. Certainly, in large urban areas where powerful AM-BC stations might be nearby and numerous, along with the possibility of neighboring hams operating powerful transmitters, the cross-modulation issue might be more likely to occur. Using an end-fed wire antenna without any type of matching network (tuner) will contribute to the susceptibility to cross-modulation. Here in Western Nevada, I've always used large wire antennae but I've always used dipoles fed with open wire feedline in combination with a selective type of antenna tuner. I believe that the "tuned" antenna, which is essentially a selective LC combination, adds another "tuned stage" ahead of the receiver to compensate for the reduced selectivity in the Ant/RF input section. Using large broad-band or untuned (non-resonant) antennae might tend to result in the R-388 being more susceptible to cross-modulation. A selective "tuned" large wire antenna seems to work for me. Also, even if I'm just listening to station outside of the ham bands, I'll always "tune" the antenna for that frequency of reception. Again, the tuning and resulting high-Q of the antenna might be why I haven't experienced any cross-modulation issues.

 

General Information on Rebuilding 51J Receivers

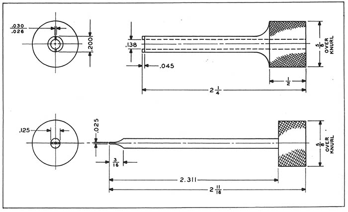
Rebuilding Difficulty - The 51J Series are fairly difficult receivers to work on because their construction isn't modular in mechanical design and the receivers will need to be substantially disassembled to work on the commonly encountered problems, including those problems involving the PTO that was used on the R-388. The 70E-15 "M" PTO that was used in all R-388 receivers will almost always require a slight modification of L002 inductor-trimmer to be able to reduce the end-point error to <1kc.

The front panel has to be dismounted and the KC dial has to be taken off to remove the PTO. Working on the R-388 PTO requires careful attention to the delicate parts inside, being careful not to disturb the "corrector stack" and working with the four turns of 29 gauge wire that is L002.

The PTO usually must be calibrated for minimum end-point error outside of the receiver on the 51J-3, 51J-4 and R-388. This requires that a jig be made to accurately indicate each full shaft turn (a "zero" index line) for a 3mc to 2mc frequency output in exactly ten full turns of the PTO shaft.

The 70E-15 "M" PTO is shown to the left.

If work is required in the receiver's front end, it is extremely difficult to access any of the parts in the crystal oscillator section and most of the other front-end sections aren't much easier to get into. Additionally, the wires from the various coils are very fine and easy to accidentally break when doing rework in the front-end of the receiver. Most of the time it's easier to dismount the particular coil assembly for the repair and then reinstall. All R-388 receivers will be MFP'd which adds to the difficulty of rework. The 51J gearbox is complex and rework is difficult.

To take on a poor condition 51J receiver, you should be experienced in complete disassembly and reassembly of advanced vintage communications equipment. You should have professional soldering equipment, be experienced and possess a good soldering technique and only use real SnPb solder. If you're going to work on the R-388s you should be experienced in reworking military equipment that has been MFP-coated. An absolute necessary for working on almost any Collins equipment is the Xcelite 99PS-60 Bristol Multiple Spline Screwdriver 11 piece set (this set includes the extension piece.) This set is expensive at around $85 but it's a "must have" to access many of the Bristol set screws deep inside the receiver can't be reached unless you have 99PS-60 set. Your test equipment should be laboratory-type although your skill at RF/IF alignment will determine the ultimate quality of the receiver's performance. The 51J Series is within the capabilities of restorers who have good mechanical ability and a solid electronics background with considerable experience working on vintage sophisticated communications receivers. Don't be in a hurry and always be thorough.

Some Thoughts on Rebuilding - Any of the Collins 51J-3, R-388 and 51J-4 receivers, if they have been well-cared-for, will usually operate as found. However, these receivers are probably not operating to their full capabilities and generally give the new owner a feeling that the 51Js are over-rated. Although you won't find handfuls of bad capacitors (as in the early Hammarlund SP-600s) there are several common problems with the 51J receivers now that they have aged for the past six or seven decades. Probably the most important step is to install good condition tubes and to perform a full IF/RF alignment. These two steps are always required for top performance and the new tubes should be installed and the alignment performed before any critical assessment is made about the receiver's capabilities or any circuit modifications are considered.

However, most of the 51J receivers encountered these days haven't been well-cared-for and most suffer from poor storage and many are compromised by owner-induced abuse (unwarranted modification.) Since most of the receivers were used extensively when new and then were probably stored poorly, you will usually find some mechanical problems that will need to be repaired. Once all of the circuits have been gone-through and rebuilt if necessary and the mechanical issues addressed, a full IF/RF alignment is always going to be necessary. Though not essential, the original alignment tools will make many of the adjustments easier (repro tools were available and they worked great. Can't find anyone selling them now, in 2023.)

Early 51J receivers that use the 70E-7A type PTO usually align easily. There are exceptions and one example I found had a 12kc EPE, however this turned out to be from a partially broken Oldham coupler skewing the EPE mechanically. The ease of adjusting the 70E-7A makes finding excessive an EPE unusual but it can happen. However, all R-388 receivers will have the 70E-15 PTO with the "M" prefix serial number and these PTOs will almost always require a slight modification to the PTO L trimmer coil L002 to function at the design level of performance. The 51J-4 70E-15 PTOs have the "CR" suffix serial number and these types seem to have faired much better and rarely, if ever, require going inside the PTO (the problem is more with how the receivers were operated than with the PTO itself.)

When completed, the 51J Series receivers are fully competitive with any other mid-fifties communications receiver. Highly sensitive, very accurate dial resolution and great selectivity. Note, that high fidelity audio was not included. The 51J receivers have highly restricted audio since they were primarily designed for communications.

Typical "As Found" Condition Issues

51J-1 and 51J-2 - A thought for consideration is that some of the 51J-1 and 51J-2 receivers, have had thousands of hours put on them by former commercial/military users. Many receivers were sometimes roughly treated, carelessly modified and are usually well-worn, needing much more than the usual re-cap and alignment to function at their design level of performance. The 51J-1 and 51J-2 gear boxes had the small drive gears made out of brass where the later R-388/51J-3 and J-4 versions have these small gears made out of steel. The relatively soft brass used on the small gears (under a lot of pressure and working against similar metals) wore quickly and the result is that sometimes the wear on early gearboxes is so severe that binding and jamming are experienced when changing the Megacycle position.

The early IF transformers often seem to sustain internal damage with rough handling of the receiver requiring disassembly and re-gluing of the coils and ferrite shields back into their proper position for correct operation.

The kilocycle dial on the 51J-1 and 51J-2 was photosensitive and would darken (tan to brown) over time if left in the same position and exposed to a lot of sunlight. The J-1 and J-2 kilocycle dial was a three-part laminate with the outer clear plastic pieces not being photosensitive. The white inner piece is what was photosensitive and it might have been a cellulose-acetate material which would explain the tan to brown discoloration that happens. Starting with the 51J-3 and R-388 the kilocycle dial inner material was changed and it isn't photosensitive. Luckily, darkened 51J-1 or 51J-2 kilocycle dials can be replaced with the kilocycle dial from a R-388 receiver. There is a very slight difference in the thickness of the material and the number font is very slightly different but mechanically the two types of dials are interchangeable. Also, there are reproduction R-388 dials (just the plastic disc) from W3HM Radio Labs, Howard Mills.

Add to those 51J-1 and 51J-2 problems, the fact that for the past half-century, most of these receivers have been severely modified both by hams and earlier by commercial technicians attempting to "modernize" the "company receiver." Also, some of the J-1s or J-2s were military R-381 receivers that the Army depots "modernized" without too much concern for appearance, ergonomics, workmanship or functionability. It's extremely rare to find either the 51J-1 or the 51J-2 that's in completely original condition. The J-1 receivers seem to have taken the brunt of this modification mayhem with most examples being totally "hacked" beyond restoration. J-2 receivers sometimes surface that are mostly original and are in pretty good, restorable condition, though I haven't seen one in that condition in a long time. The J-2 that I rebuilt fifteen years ago needed a second J-2 to provide a "parts set" to allow selecting the best parts and components between the two receivers to use for the rebuild. Also, the "parts set" was able to supply any missing or destroyed parts. Figure that taking on a J-1 or J-2 restoration will probably require two receivers to make one operational and relatively original receiver. NOTE: In April 2023, I found a 51J-1 receiver that was a "survivor." In years of looking at many 51J-1 receivers, I'd never seen one that wasn't totally hacked beyond restoration. This 51J-1 is 95% original and only has a couple of minor modifications. The front panel is all original and so is the top of the chassis. So, I can't say that it's impossible to find a nearly all-original 51J-1, but it will take a lot of looking.

R-388, 51J-3 and 51J-4 - The R-388 and 51J-4 receivers seem to be in much better overall condition and usually don't require extensive rebuilding, although there certainly are many exceptions lurking out there. Most component problems and certainly all mechanical problems will be aggravated by poor storage conditions. Fifty years of storage near any coast, in an unheated shed that's also inhabited by the local rodent population (along with copious insect and arachnid ingression) is going to be devastating to all parts of these receivers. Challenging storage conditions can cause irreparable damage to all sheet metal surfaces and finishes. Sometimes corrosion will set up underneath the front panel paint causing "white blisters" to appear through the paint. These "severely storage compromised" receivers have, in reality, slid into oblivion and are really only usable as "parts sets." However, because of the Collins-name, very few of these corroded hulks are ever priced as "parts sets."

For those R-388 and 51J-4 receivers that have faired better, there are still a few things that should be checked, but, most of the problems will be minor, such as defective tubes, filter capacitor needing reforming, poor alignment or other minor issues. Generally, the better the physical condition of the receiver is, the less likely that any serious problems will be encountered.

Capacitors & Resistors - Nearly all of the capacitors used in the 51J front-end and IF sections are tubular ceramic caps which are extremely reliable and never seem to fail. The bypass capacitors are usually paper dielectric types that should be replaced in early versions (some are tub mounts.)

The filter capacitor assembly plugs into an octal socket (except for the 51J-1.) These are dual electrolytic capacitors with 25uf per section used in the 51J-1 and 51J-2 receivers. The R-388 and 51J-4 use either 35uf per section or 40uf per section depending on if the capacitor was ever replaced. Working voltage is usually 450vdc on all types. These are very reliable, well-sealed capacitors that seldom fail. Check for leakage current before powering up the receiver. Capacitors that haven't had voltage applied for decades should be reformed. Leakage current on a reformed electrolytic should be less than 100 uA at full working voltage. There are also a couple of tub mount electrolytic capacitors used that should be checked carefully.

Resistors are generally Allen Bradley JAN-types that are extremely stable and never seem to drift in value.

Dealing with Stuck Trimmers - A stuck trimmer capacitor can be a fairly common problem with almost any of the 51J receivers and is mostly due to decades of poor storage conditions and dirt. The variable trimmer capacitors are integral to their fiber mounting boards in the front-end. "Gunk" gets into the rotor to stator space and sets up over years resulting in the "stuck" trimmer. Do not force any stuck trimmer. Try a little bit of heat using a hand-held heat gun. Only apply the heat for about 5 seconds because not much is needed. Gently try to move the trimmer and it will normally easily break loose. If the trimmer still refuses to budge, apply another 5 seconds of heat and try again to move the trimmer. Usually no more than three times will be required as the heat will melt or loosen whatever is sticking the rotor. Don't apply the heat all at once, gentle persuasion is best. This approach works most of the time and is the safest method for loosening stuck trimmers. You don't want to break the trimmer since they can't be directly replaced without considerable difficulty.

Manuals - If you are working on a 51J-2 receiver be aware that the 1950 version of the 51J-2 manual is fraught with errors in almost every section - almost on every page - almost in every paragraph. The alignment section, circuit description section, the component designations and component identification layouts seem to contain the greatest number of errors. Misidentified components are the most common errors but some alignment procedure errors also exist. How this manual ever got through the proof-readers is a mystery. The 51J-1 manual is probably just as bad, maybe worse. The later Signal Corps R-388 and the Collins 51J-4 manuals are excellent with very few, if any, errors found. However, the R-388 schematic found in some Army TM manuals has several component identification numbers that are transposed, e.g., R102 might be identified as R201. This makes correct ID'ing of components referenced in the text or parts list a little difficult but, once you know about the transposition, write (in pencil) the correction and later identification will be a bit easier. The schematic that is glued inside the top cover of the R-388 is correct. The Navy manual for the AN/URR-23A (R-388) is an excellent, comprehensive book but it does have a couple of photo plates that have erroneous "figure" identifications. I've also found some components in the parts list that have incorrect values shown. Well,...nobody's perfect.

Source for 51J Series Manuals: The best source for online 51J Series manuals that can be viewed and downloaded for free is from jptronics.org that hosts "K4OZY's Collins Repository." All of the 51J Series receiver manuals can be found on this website. They are PDF formats. Search "K4OZY's Collins Repository" and it will come right up.

Parts Availability - At one time it seemed to be impossible to find anyone that was "parting-out" a 51J receiver. No matter how bad the receiver's condition, the seller always believed that it could be restored,...by someone. Things have changed and nowadays (2023) it's fairly common to see many 51J parts being offered for sale, primarily on eBay. Of course, eBay prices tend to be high but, not always, especially when just dealing in parts. Power transformers, chokes, 70E-15 PTOs, dial drums, KC dials, front panels, grab handles, dial escutcheons, meters, crystals, IF transformers, knobs are all often seen for sale. Even 51J-4 mechanical filters show up more often than one would think. Also, repro drum dial overlays are easily found. More difficult items like any of the front-end parts or a complete Crystal Filter assembly or gearbox parts probably would require obtaining a parts set. Some parts are available from W3HM Radio Labs, see References, end of Part 3.

Unnecessary Modifications - There are plenty of modifications that have been published for the 51J Series. A search on the web will result in several to choose from. Nearly all of them are concerned with two areas of the receiver circuit. First is the AVC circuit which many users feel has too short of a release time. However, Collins was very specific as to why the AVC time-constant is relatively short and that was for quick receiver recovery when going from transmit back to receive. In a commercial-military Voice communications set-up with break-in being used, quick exchanges would have been the norm and Collins anticipated that with the AVC time-constant they selected. Additionally, for RTTY, quick AVC recovery is a necessity for accurate copy after a static burst or other interruption of the signal. Yes, you can leave the AVC on for both RTTY and even for CW but you do have to reduce the RF gain as required for the signal level.

The second is the standard diode detector used in the stock receiver which many users want to replace with a Product Detector. The one 51J-4 that I used with the in-circuit Product Detector mod (and AVC mod) still distorted SSB signals if the RF Gain was advanced too far. The object of the mod was to allow the RF Gain to be fully advanced and not distort SSB signals. I thought the receiver functioned much better after I removed these two mods.    >>>

>>>  The usual "ham mod" caveats should be seriously considered before actually corrupting the original receiver circuitry. When the receiver is functioning correctly and in good alignment, the AVC does work fine and so does the diode detector. However, Collins designed the receiver in the late forties, long before SSB transmissions became the standard voice communications mode. When operated as a typical late-forties communications receiver, no serious problems will be encountered with the 51J Series receiver. This means that you will have to reduce the RF Gain when receiving SSB or CW signals. If signal quality is not an issue, the AVC can be left on but, in either case (AVC on or off,) the RF Gain will have to be reduced to about 8 or less for minimum distortion of a typical SSB signal. Of course, signal strength will affect the RF Gain setting for best SSB demodulation. The AVC, the BFO injection and the diode detector circuits are the primary reason that input signal level, determined by the RF Gain, must be reduced so the proper ratio of BFO injection to signal level will result in good SSB demodulation. Additionally, when receiving CW signals with an older receiver, excessive BFO injection into the detector can "mask" very weak CW signals. Maximum sensitivity in CW was always achieved by "riding" the RF Gain control with the receiver out of AVC and the Audio Gain near fully advanced. Additionally, the Carrier Level meter will no longer be useable for relative signal strength measurements when the AVC is in the off position.

The primary reason for the AVC/Product Detector mods is to allow reception of SSB net operations without having to "ride the RF Gain" for every participant in the net roundtable. How much of the receiver operation is dedicated to this type of activity will determine the level of interest in these mods.

More on Mods - The most common in-circuit modification was to replace the 6BA6 BFO tube with a 6BE6 mixer tube and install a few additional components to create a Product Detector for operation with the BFO on - that is SSB and CW signal reception. This was a fairly involved modification that could be accomplished with "no holes drilled" if done carefully. It functioned fine for SSB or CW and it could be relatively easy to reverse and put the receiver back to stock, if that's desired. The mod's origin was from a Bill Orr article "Modifying the 51J Receiver for SSB" published in the February 1978 issue of Ham Radio magazine.

I had a 51J-4 receiver that had the older style receiver circuitry modification (it was something like Orr's mods but not as extensive) and its performance wasn't very good. The receiver still distorted the SSB signal with the RF Gain at maximum (the object of the mod is to be able to run the RF Gain at maximum level with AVC on and have no SSB distortion.) I ended up removing the mod and returning the receiver to stock configuration with much better performance operating the receiver as a typical "late-forties" communications receiver. Additionally, the 51J-4 had the AVC mod that adds capacitance to increase the release time. This was also returned to stock configuration. The person who installed the mods did an excellent job with no damage to the circuit components that remained. I'm fairly sure the mod was working as intended because it did change how SSB and CW could be demodulated but "improvement" would be a subjective judgment.

Nowadays there are "plug-in" circuit boards that allow an easy, non-destructive method to incorporate a Product Detector to many types of older receivers including the 51J Series. Although these PCBs do plug-in, there are a few wires that need to be connected under the chassis but that's much better than total circuit modification. Treetop makes the best of the plug-in Product Detector, AVC units. It plugs into the detector tube socket and has a few wires that need to be connected into the circuitry. This unit also has a voltage doubler that is used for its requirements and has enough current capability to operate K101, the Break-In relay. The Treetop units are made in Canada and there is more detailed information about them on the Internet.

Certainly how you intend to use your 51J Series receiver will determine your interest in any of the published mods or plug-in circuit boards. Certainly the plug-in circuit board approach is best and allows easy installation or removal. Remember that most ham modifications are "amateur-level engineering" and will enhance one area of performance at the expense of another. The circuit altering product detector mods may work fine for SSB or CW and the AVC mods might allow for better SSB response but learning how to operate the stock receiver in the manner in which it was designed will also give you great performance in all modes of reception.

But, if you want the best in SSB reproduction, without modifications, take a look at TMC's MSR-8 500kc IF SSB Adapter  shown to the right.   >>>

Technical Materiel Corp. - MSR-8 - 500kc IF SSB Adapter for the R-388 and 51J-4 - Technical Materiel Corporation made several variations of their popular CV-591 SSB Adapter. Nine production versions were given the prefix designation of MSR (Mode Selector Receiving.)

Only one of the MSR SSB Adapters was set-up to work with a 500kc IF output that was available on the R-388, 51J-3 and 51J-4 receivers. That model is the MSR-8.

Of the nine MSR models, two were for 200kc IF, one for 500kc and the remaining six versions all operated on 455kc IF outputs. The MSR-6 shown below is for 455kc. All of the MSR versions are very similar in design and appearance to the CV-591. Any of the TMC MSR SSB adapters are difficult to find since they weren't on military contracts and, as expected, the MSR-8 is probably the most difficult to find.


The Technical Materiel Corp. - GPR-90RXD SN:126 with matching MSR-6 455kc SSB Adapter SN:126

Another Mod - I've run across this mod once in a while on early 51J receivers, like the J-1 and J-2. These first versions of the 51J receiver had a very narrow IF bandwidth with the spec being around 4 to 5kc at -6db. This selectivity was a deliberate design feature for a receiver that was intended for communication and primarily for RTTY, CW or other data-types of transmissions. The 51J-1 and 51J-2 weren't intended for aural pleasure or for listening to wide audio frequency AM Broadcast transmissions (even though all 51Js do tune the AM-BC band.) Almost all Voice "communications audio" had the frequency response limited to 300hz to 3000hz because that favored typical voice characteristics with the best intelligibility given that most propagation conditions severely hampered Voice comms anyway. However, I've found a few early 51J receivers that have used 2pf to 3pf capacitors connected across the primary to secondary on the IF transformers (pin 1 to pin 4.) This increases the coupling and that broadens the bandwidth. The later R-388 receivers and all 51J-4 receivers had 2pf to 3pf capacitors installed to increase the bandwidth to around 6kc at -6db. The J-4 has mechanical filters for determining selectivity and the increase in the R-388 bandwidth was probably at the request of the Signal Corps (since the caps first appear in the R-388.) At any rate, the 51J-1 and the 51J-2 properly shouldn't have coupling capacitors installed. Yes, the IF bandwidth is pretty narrow but that produces the characteristic "sound" of these early 51J receivers. This is about nostalgia and wanting to experience what the original operators heard when using these receivers,...isn't it? One More Note on the Fallibility of Mods - Bill Orr's Feb 1978 Ham Radio article does have one suggestion that seems like a very easy check and repair if necessary. It involves the RF stage grid bias voltage affecting sensitivity above 15mc. According to Orr, he had checked several R-388/51J receivers and found that many had very high negative bias voltage on the RF stage grid. Orr thought the problem was caused by resistor value of the 820 ohm R149 resistor drifting to a higher value thus increasing the negative bias. Orr suggested that R149 should be changed to 680 ohms for the desired bias voltage -1.4vdc. All very logical,...but should the bias voltage be -1.4vdc? It's the spec out of the tube manual, so it must be correct. Much later, Dallas Lankford (Hollow State Newsletter) tried this mod and found the RF stage gain was increased but the dynamic range of the receiver was greatly reduced with the bias at -1.4vdc (the ratio of noise to signal levels.) His further research indicated to him that the -1.4vdc bias was probably a misprint in the Collins manual that was never corrected and that Collins had actually been using -1.8vdc as the target value. A lot of this was conjecture on Lankford's part and also any improvement could possibly be rather subjective. I have a hard time believing that Bill Orr wouldn't have noticed the change in dynamic range. It's an easy mod to try for a test so you can form your own opinion. As far as a lack of sensitivity,...good tubes, a good alignment and, most importantly, a good antenna will do wonders for the receiver when tuning above 15mc. Also, hearing fabulous DX on 15M or 10M during the summer months is not likely to happen no matter what you do to the receiver or antenna (well,...unless there's a contest going on.)
Lubrication - Unlike the R-390A receivers, with their roller bearings on all of the slug lifter racks, the 51J receivers just use a "rolled-end" on the slug lifter racks to act as a bearing against the brass cams. Where the roller bearings in the R-390A require lubrication with light-weight machine oil, the 51J receivers slug lifter rack ends require a light coating of grease. Any type of "sticky" grease will provide a good reduction in friction and reduce wear to the cams and slug lifter rack ends. Wheel bearing grease is probably a good choice since it's designed for high temperature and for staying inside the bearing. It doesn't take a lot of grease, just a light coat is all that's necessary. DO NOT use Lubriplate. It hardens quickly to become like cement. Carefully apply wheel bearing grease with a very small paint brush so the grease is only placed where needed. Other bearings are Oilite-type shaft bearings that don't really require any lubrication but if you feel it's necessary then only use one drop of machine oil for lubrication. Don't "over-lubricate."


Garolite Alignment Tools - Repros

Necessary Alignment Tools - Most of the time these two Garolite tools are missing from the R-388 and the 51J-4 receivers, which is unfortunate. They work really well, especially the tool for adjusting the ceramic trimmer capacitors. The tool for aligning the IF transformers also is very helpful. At one time, these tools were being reproduced very accurately and were easily available. However, a recent search (2023) on the Internet didn't find anyone selling these reproductions anymore. They may show up on eBay sometimes but I've haven't really seen that happen either. If you find a set, buy them. Or, check with W3HM Radio Labs, Howard Mills might be a source for these repros.

Also, in advance of any alignments, build the series RC shunt for the IF transformers. Use 5" flexible wire leads with small alligator clips on the ends. Since one side is always connected to chassis, only one lead has to be moved. It really eases the IF load set-up. Also, have a series RC load for the antenna built consisting of a 47 ohm carbon resistor and a 100pf capacitor. It connects in series with the RF signal generator output to the receiver antenna input.

Rubber Feet for Collins A-line Cabinets (like those shown in the photo) - If your Collins cabinet has really worn or missing feet that are the type shown in the photo to the right don't replace them with the typical "hole-mounted" rubber feet. The correct rubber feet are actually called rubber bumpers. The originals were 1" in diameter and 0.5" tall with about a 1" long 1/4" x 20 threaded stud secured with an external tooth washer and 1/4" x 20 nut. McMaster-Carr carries rubber bumpers listed as "Threaded Stud Bumpers" but their 1/4" x 20 studs are too short. However, the mounting hole in the Collins cabinets is 5/16" diameter and McMaster-Carr does carry a 1" x .5" rubber bumper with a 5/16" x 18 stud 1" long that will work fine.

The rubber bumper type of feet are found mostly on the 32V transmitter cabinets mainly because of the weight of the transmitter (~90 lbs out of the cabinet.) Some of the receiver cabinets might have hole-mounted rubber feet with aluminum spacers. These cabinets don't have the welded riser mount for the rubber bumpers that the 32V cabinets had, so the separate aluminum spacer had to be used. Since the receiver weight was normally about 35 pounds, the hole-mounted feet worked fine.

Reducing "High Line" AC using a Line Bucking Transformer - The 51J Series of receivers were designed to run on 115vac input voltage. Tube heater voltages and the non-regulated B+ voltage is dependent on 115vac being the line voltage used. Today, line voltages are nearly always minimum 120vac and often run up to nearly 125vac. Short term operation, such as testing or alignment, isn't usually affected by "high line" operation. Long term operation however will affect tube life and the higher non-regulated B+ can cause an increase in overall heat generated. It's very easy to add an external Line Bucking Transformer to lower the "high line" down closer to the specified input AC voltage. Using a 6.3vac filament transformer (that was designed for 115vac primary voltage) will lower the AC line by about 7vac to 8vac, e.g., lower a 124vac line down to 116-117vac. Our AC line here in Dayton is close to 124vac (123.8vac measured 7/29/22) and Line Bucking with a 6.3vac filament transformer lowers the AC line to 116vac. For receivers I use 6.3vac rated at about 3A minimum transformers and for medium power transmitters I use 6.3vac at about 8A minimum. It's not critical since the VA is only for the small voltage drop, not the entire VA the equipment requires. You can always use a larger current-rated filament transformer, especially if you want to use it to supply 115vac to a power strip, just be sure to have a primary switch on the bucking transformer. There are lots of easy hook-ups shown on the Internet (search on "line bucking transformer.") Of course, an autotransformer (Variac or Powerstat) could be used just as easily but filament transformers are plentiful and cheap. Variacs are also plentiful, just usually not cheap. Besides, the Variac belongs on the test bench.

Easy Access to the Crystal Filter - How many times have you wanted to get into the Crystal Filter assembly on the 51J receiver but were intimidated by its lack of obvious and easily removable covers? Well, Jan Wrangel SM5MRQ, decided to get into his 51J-4 crystal filter and took photos to document just how easy it is to gain access to the Crystal Filter components. If the receiver is in a cabinet it has to be extracted out of the cabinet. Then remove the top cover and the bottom cover. From the top of the Crystal Filter assembly a single screw has to be removed. From the bottom, the choke nearest the front of the chassis has to be dismounted (just unbolt the choke - no need to unsolder the wires) to allow access to a 6-32 nut that is underneath the choke (between silk-screened IDs T101 and T102.) This nut mounts the bottom of the Crystal Filter top plate. Once the nut is removed now the top cover of the Crystal Filter can be removed from the top. This allows access to most of the circuitry inside. Reassemble in reverse order when checking, repairs or cleaning have been completed. If further access is required such as removal of the IF transformers inside, then more disassembly will be required. Complete extraction of the Crystal Filter assembly will require some unsoldering work. This procedure is only for simple checking, cleaning and minor repair work to the Crystal Filter. 


The photo below-left shows the Crystal Filter after the cover has been dismounted revealing most of the components. The middle photo shows the choke that has to be dismounted. The right photo shows the location of the nut under the choke. This nut has to be removed to allow the top cover to be dismounted.           Photos by: Jan Wrangel SM5MRQ

NOTE: Crystal Filter Alignment - It can be seen from these photos that T101 and T102 have what appears to be a slug adjustment on top and a threaded rod adjustment on the bottom. Each of these IF transformers have only one slug and one adjustment. The top adjustment it easiest to access and is usually the one that's used. The slug also has a brass threaded rod that exits out the bottom and can be accessed from under the chassis, if required. Although it looks like there are two adjustments on both T101 and T102, there's just one slug per transformer that has two methods of adjusting the position of that one slug. T101 is adjusted for peak at 500kc and T102 can be adjusted using a sweep generator to present the IF bandwidth as an oscilloscope pattern. Then T102 is adjusted for the most symmetrical response as the Phasing control is adjusted in position 2. In the USN manual for the URR-23A, an alternate procedure is shown (and it's not in any of the other 51J manuals) that is for adjusting T102 without a sweep generator or 'scope. This procedure has the operator offset the signal generator frequency by 3kc when in position 2 and adjust T102 for the most symmetrical -DCV output on the diode load when the signal generator is alternately adjusted to 497kc and to 503kc or +/- the 3kc. The USN manual does indicate that this is an approximate adjustment of the Crystal Filter.

Alignment Holes for Cam Points for RF-Mixer Cams - If you've ever had the need to check the cam point alignment on the RF-Mixer slug racks and you've read the manual to find what frequency to set your 51J receiver to for cam alignment, then you've discovered that Collins never indicates a frequency. The implication is that if one cam point is showing in one hole, then the other two holes will also show their cam points. Or, you can do multi-step procedure that measures how far the cam riser is for certain cams at certain frequencies and for each of the three cams. There has to be a better way.

Thanks to Oskar SP5LKO, who searched through Hollow State Newsletters and found that Dallas Lankford also researched this problem. Lankford found the 8.300mc is the frequency to set the 51J receiver to and that will have all three cam points showing through their alignment holes.

Note in the photo shown to the right, the cam point alignment holes are only on the front plate of the rack assembly. Also, the three holes are very small, probably about 0.125" diameter. In the photo, the lowest frequency cam is pointing to the hole at the lower-right corner of the front plate. The second hole isn't visible in this photo. The third hole can be seen in the background and it can be seen that the highest frequency cam point is aligned with its hole. The receiver is a R-388 and it's set to 8.300mc. These little holes are not very obvious and, from the front of the rack assembly plate, they are difficult to see. Also, the cam points are difficult to see. Requires a flashlight. Perhaps the intent was to use a piece of 12-14 gauge wire bent at a right angle and then insert the bent end into the hole to act as a "feeler gauge." In actuality, this is just a quick check to see if the slug rack is set up correctly.

Thanks Oskar!

R-388 and 51J-4 Repro Megacycle Dial Drum Overlay - Some of the megacycle dial drums that still have their original band scale overlay appear quite different nowadays than they did when they were new. Many of the original overlays have darkened considerably with their present color ranging from medium yellow to dark amber. The color change is certainly expected and acceptable, if the dial overlay is in otherwise excellent condition. But, many drums will have nicks, gouges, stains, scratches, bubbling and flaking that can range from very minor and perhaps acceptable wear up to a completely destroyed original overlay. Luckily, the new reproduction overlays are very nicely made with real printing, in other words,...not a copy machine creation. The original color was kind of a cream color, that when illuminated with real #47 incandescent lamps, looked a light yellowish-cream color. The new overlay comes with a self-adhesive back to ease installation. The surface of the old drum must be sanded with 400 grit paper to provide a clean and level surface for the the adhesive to adhere to. Prep is all-important. Also, important is to not sand the original drum overlay completely away. Enough has to remain to see where to install the new overlay. Also, a pencil centerline should be lightly marked on the edges of the new overlay from a mid-scale point and also on the drum at the same point to provide accurate alignment for installation. The pencil lines can be erased after installation is complete. Start with clean dry hands. Start mid-center and work evenly in each direction being careful to avoid air bubbles. Go slowly and carefully because once the self-adhesive glue is in contact with the drum, the overlay can't be removed. As the installation proceeds, a soft paper towel can be used to lightly smooth out the overlay as it's installed. Once the overlay is completely applied and there aren't any air bubbles, the soft paper towel can be used to rub with slightly more pressure for good adhesion. Then the new overlay can be given a few sprayed-on coats of Krylon Clear Lacquer to protect it and, more importantly, to impart the slight sheen that the original overlays had. These repro overlays are necessary to restore a "rough-condition" original dial drum. They shouldn't be used on good condition drums just because of the age-related color change. Original vs Restoration - Data Plates - Some restorations are so good, it's difficult to tell what's original and what has been replaced with good condition parts for another receiver. In most cases, especially when considering components that were always replaceable like tubes, circuit components or some assemblies, it's not important. But, then there are the items that indicate manufacturing date or contract or original end-user. These are the data plates that are so important but many times are missing and other times not seeming to fit the time-line of the particular receiver. Some restorers will install a proper data plate obtained from another receiver and this seems to be no problem in the short-term. But, when the data plate information is later used to try to date some of the manufacturing details, nothing seems to fit with the data plate information. My suggestion (and this is what I do) is to write on the back of the data plate that it's a replacement from a "parts set" receiver and not the original data plate for the receiver that it's installed on. Of course, it does depend on the curiosity of the researcher that they might be interested enough to remove the data plate for examination. Of course, on most R-388 receivers, this happens fairly often to check on what's stamped on the panel under the data plate. Nowadays, with decades of date plate swapping, starting with the Army depots and more recently with careless restorations, many questions arise when the data plate appears original but doesn't match some of the key manufacturing points. Just write "Replacement - Not Original" on the back of a replacement data plate. It might help someone in the future.
 

70E-15 "M" PTO - Fixing the End-Point Error Problems

Just a reminder,...there isn't really any differences in the "M" or the "CR" versions of the 70E-15. All 70E-15 PTOs are the same. The letter suffixes and prefixes are only indicators of which receiver the particular PTO was installed in. "M" was the identification for a 70E-15 installed in a R-388. "CR" was the identification for a 70E-15 installed in a 51J-3 or 51J-4.

Excessive End-Point Error in the "M" 70E-15 PTO - The 70E-15 PTO tunes from 3.0mc to 2.0mc in ten turns. There is a trimmer inductance (L002) provided to adjust the end-point error. The end-points on nearly every R-388 PTO are excessive and beyond the range of the trimmer inductor. Usually, if the EPE is greater than 6.0kc (typical is 8kc to 12kc) it will be out of the range of the adjustment. One important thing to observe is the PTO serial number. If the PTO has "M" as a prefix to the serial number, that PTO was for a R-388 and very likely that PTO will have excessive EPE problems - probably due to excessive heat build-up from 24/7 operations. However, if the PTO has "CR" as the suffix to the serial number, that PTO was for the civilian 51J-4 and more than likely the EPE can be adjusted normally. Even though the "CR" PTOs seem to be better, still most are going to require adjustment of the L002 trimmer for perfect tracking. While the 51J-4 PTO may have a 4kc EPE which is correctable adjusting L002, a R-388 might have a 10kc EPE which isn't correctable with L002. All 70E-15 PTO end-point errors (EPE) are similar in that the tuned range, which should be exactly 1.000mc change in exactly ten turns of the PTO, has decreased. I've never encountered a 70E-15 PTO where the EPE actually has an increased range. The EPE issues are probably related to the type of the ferrite core material used in the 70E-15 in combination with 24/7 operations that most R-388s were subjected to. Since the ferrite has had about 70 years to age (since nearly all 70E-15 "M" PTOs have been "unsealed" for decades) it has become stable and since most of us aren't going into the 24/7 signal monitoring mode, by modifying the trimmer inductor for more range, it then becomes possible to correct the EPE for the ferrite core condition as it is now.

Use a Digital Frequency Counter - When the R-388 was being produced, used and maintained there wasn't an easy way to directly measure the output frequency of the PTO. Much of the calibration and alignment procedures for any 51J receiver are burdened with cumbersome details on how to use the 100kc crystal calibrator and its harmonics or how to use heterodynes to assure proper frequency output, sometimes even another calibrated receiver was used. As far as that being "the good old days," just read through any 51J procedure and see how much of the procedure is dedicated to just setting up these implied reference signals for calibration. Nowadays we have Digital Frequency Counters that can measure the PTO output directly, and that measurement is accurate and instantaneous. I started using a DFC when doing R-390A PTOs and found the process is so direct and so easy that I've started using the same method to do the 70E-15 and the 70E-7A PTOs for the 51J Series. It makes setting up the KC dial synchronization quick, calibration of the PTO EPE is quick and easy (unless the PTO came out of a R-388) and the accuracy is the best. You'll have to read through the procedure to determine what needs to be accomplished and almost anything requiring frequency determination is about ten times easier if a DFC is used to measure the frequency directly. I sometimes use a 10X oscilloscope probe to isolate the measurement load from the circuit if I'm measuring an oscillator directly.  

L002 Details - It's common to find the 51J-4 receivers with virtually no EPE in their "CR" PTO. It's also fairly common that 51J-4s will be found with an EPE of about 4kc but that can usually be adjusted with the trimmer L002. If your R-388 "M" PTO has excessive EPE, that is >6kc EPE, correction will require removing one coil turn from the internal PTO trimmer coil L002. This requires disassembly of the PTO. When modifying the trimmer coil, be sure to remove only one turn. This coil only has four turns so one turn is quite a bit (also the coil wire is quite small at 29 gauge.) If more than one turn removal seems necessary in order to get the EPE in spec, you can perhaps remove another quarter to perhaps a half of a turn - but no more. The object of reducing the L002 inductance is to skew the adjustment range to where it will compensate for the ferrite changes. But, as the range is moved the span of adjustment is greatly reduced. Taking off 1.5 turns reduces L002 to just 2.5 turns and that might narrow the span of the adjustment range to the point where adjustment of the slug has no effect the EPE at all. Bill Orr wrote extensively about the R-388 and correcting the 70E-15 "M" PTO EPE problems in the form of an article in Ham Radio magazine in the December 1969 issue. This detailed article should be read before attempting to rework your first 70E-15 "M" PTO. Orr's article can be found online in PDF form on the Collins Collector Association website - www.collinsradio.org  Additionally, Dallas Lankford, in the Hollow State Newsletter, wrote several articles about the 70E-15 PTO and the "Orr fix" problems that he ran into. Basically, Lankford felt that Orr had just ignored the linearity of his modified 70E-15 PTOs since he doesn't mention it in his write-up. Lankford provides a lot of data and graphs on the 70E-15 PTO EPE range and on its linearity after the Orr fix,...more in the next section. The Hollow State Newsletters that relate to the R-388/51J receivers can be found on www.navy-radio.com website.

Linearity of the PTO Range - The linearity for the 1000kc range, or the 3.00mc to 2.00mc range, is determined by the adjustment of the "Corrector Mechanism" which is essentially a compressed "stack" of washers upon which an extension arm from the ferrite core rides. The slight "ups and downs" of the individual washers in the "stack" will slightly change the position of the ferrite core and thus create a "correction" for slight changes in the linearity as the ferrite core travels its 1000kc range. Normally, the original factory setting will be maintained if the EPE is corrected. Changing the "stack" isn't recommended. It can be tedious work that might easily end in disaster. If you feel that the linearity is just too far out and you have the confidence to proceed then be sure to mark the stack for the beginning and the end of travel for the 1000kc range. Test the linearity and mark down where the correction needs to happen. Then set the PTO at that point and remove the cover to see where on the corrector arm is on the stack and where the adjustment is needed. Once you remove the PTO cover, all tracking is affected and to check adjustments requires putting the cover back on. Back to the stack,...if other washers in other sections move while doing the correction,...that's a problem. As mentioned, the stack is under a slight compression to hold adjustment and making changes requires loosening the compression enough to adjust where needed but not moving any of the other washers in other sections. Unless the linearity is totally "out" (which is not likely) it's best to leave the stack alone (probably why Orr didn't bring it up.) Always adjust the EPE first because most of the time that will correct (or reduce) any apparent linearity problems. NOTE: Dallas Lankford wrote extensively in the Hollow State Newsletter about the need to do the corrector stack linearity adjustment if the EPE was more than 4kc. Certainly, the farther out the EPE is the more the linearity will be affected. But, correct the EPE first. Then see where the linearity has gotten to. Lankford was trying to achieve the original specification of <750hz linearity error over the entire 1000kc range which is pretty tight.

The Special Tool Required for the 70E-15 EPE Adjustments - The end-point adjustment is behind a hex-head plug that has to be removed and then there is a slotted locking nut that also has to be loosened before the trimmer inductor adjustment can be moved. The tool required to loosen the locking nut wasn't supplied with the receivers, but a drawing with dimensions was generally included in the manuals showing how to make the tool (the drawing to the right is from the 51J-4 manual.) The unlocking part of the tool is a small round cylinder with two small projecting tangs that will mate with slots in the locking nut. The blade screwdriver part of the tool fits down the barrel of the cylinder part of the unlocking tool to allow adjusting the L002 trimmer. The cylinder tool kept the locking nut from moving while the L002 trimmer was adjusted. After the EPE was "in spec" then the locking nut could be "snugged-up" but not over-tightened. I made my own tool out of steel thin wall tubing about 2.5" long and .20" in diameter with one end filed to create the two tangs necessary. Since it's made out of tubing, a small thin blade screwdriver fits down the barrel and can make the adjustments. Easy to make. The drawing to the right gives you an idea of how the tool works.

There are some restorers that have built special right-angle tools for accessing the locking nut and the trimmer inductor with the PTO still mounted in the receiver but these do require a lot patience to use. Unfortunately, over the past several decades, who knows if someone has tried to adjust the EPE without "unlocking" it and has gnarled the trimmer slot. If you have the PTO out of the receiver you can visually examine the trimmer slot and make sure it's not damaged. A dental mirror can be used to examine the trimmer if the PTO is installed in the receiver (access plug has to be removed.) Generally, if the PTO is the "M" version, it has to be removed from the receiver anyway for modification of the trimmer inductor for end-point correction. I find it easier to just remove the PTO, do the rework and do the entire EPE adjustment on the bench with a simple test jig.


70E-15 Adjustment Tools for L002 Trimmer EPE

An Easy PTO Test Jig - The test jig should be simple and easy to make. Orr's Ham Radio article shows his fixture using the KC dial but you don't really need to be that elaborate. Also, using the KC dial covers the access to L002, so the KC dial has to be dismounted from the PTO for each adjustment and then remounted for testing (it's not that difficult to dismount the KC dial for each L002 adjustment, really.) But, you can get by with a fixed reference index line on a clear plastic scale and a very narrow pointer. It's really all that's necessary. A very narrow pointer is attached to the PTO shaft. It can be made out of 22 gauge solid TC wire. The small transparent plastic index scale has a scribed "zero" line and is mounted to the PTO case using stand-offs and screws. Be sure mounting your small plastic index doesn't cover access to L002 EPE adjustment. Scribe several other lines on each side of "zero" that are about the width of the KC lines on the actual dial. This will allow you to accurately see if the end-point error adjustment is proceeding in the right direction. You'll have to count the ten turns the first time to be sure that the range is close to 2.000mc to 3.000mc but, after the first time, then just watching the output frequency is all that's necessary. How accurately you observe your pointer and the index lines on the plastic scale during the adjustments will determine your overall accuracy when the PTO is installed back in the receiver. You just need to determine a 1000kc change in frequency for exactly ten revolutions of the PTO shaft and a simple pointer and index does that. The PTO should tune exactly 3.000mc to 2.000mc in exactly ten turns of the PTO shaft and that should correlate to 0.00 to +00.0 (one complete turn) x 10 on the KC dial (when installed back in the receiver.) 

I use a bench power supply connected to the PTO wires with clip leads. A digital frequency counter monitors the PTO output. In this way, the PTO can be completely removed from the receiver. It makes any rework (like modifying the trimmer inductor) much easier since you don't have to have the harness connected to the receiver. When measuring the PTO output frequency for EPE adjustment be sure to have the cover in place as its proximity to the PTO circuitry greatly affects the output frequency.   >>>

>>>   Don't worry about the seals for the PTO cover. At the factory, when a PTO was completed, that is EPE adjusted and it was "ready to go," the PTO was heated, then, while still hot, the L002 hex-plug was installed. As the PTO cooled, it formed a slight vacuum inside which protected the components. But, the first time someone decided to adjust the EPE, air leaked in and the vacuum was lost. That's why Collins didn't want anyone working on their PTOs since, at Collins, after any adjustment or rework, the PTO again went through the process to create the slight vacuum inside. Collins claimed that correcting the EPE in the field was only for temporary repairs and the PTO needed to be sent back to Collins as soon as possible because the loss of vacuum would cause rapid deterioration of the internal components. Hmmm, hype? Maybe. Nowadays, nobody worries about the vacuum loss in the PTO because that certainly happened a long time ago anyway. The components inside have already "aged" and are certainly stable. Besides, we all take excellent care of our receivers and the environment they are kept in is usually very clean and temperature-controlled,...isn't it? 

If all you need to do is to adjust the EPE (like on the 70E-15 "CR" types) it's fairly easy to dismount the PTO, although you do have to lower the front panel and the KC dial has to be removed to access the three PTO mounting screws, but leave the PTO wiring connected to the receiver to supply the voltages. Attach (using a clip-lead) a shielded test cable to the PTO output coax and connect that to a digital frequency counter. The simple test jig fixed index should be mounted to the PTO and the pointer to the PTO shaft. Not too difficult and relatively fast if all you need to do is an EPE adjustment.

For a real "quickie" test of the EPE, I don't even bother with the KC dial. I use a fine tip pen and mark an index line on the front mount frame and another index mark on the oldham coupler. I first set the PTO to be at 2.500mc output and then mark the index lines. Rotate the oldham coupler one turn, align the index marks and read the frequency output. Mark down the frequency. Go five turns taking readings at each turn with the index lines aligned. Go back to 2.500mc output and then go five turns in the other direction taking readings at each turn with the index lines aligned. You can now see the PTO linearity from 3.000mc to 2.000mc and you can calculate your EPE. If you need to adjust the trimmer inductor, it's easily accessed. This method isn't as accurate as using the KC dial but it's a good "quickie" test.

The Necessity of Doing the L002 Mod? - After all that has been written about doing this one-turn removal on the trimmer L002, I have to wonder,...why? Is it worth it? Most 70E-15 PTOs have about 6kc to 8kc EPE error in 1000kc! That's an error of of 0.1% - not that bad. The 6kc error is correctable using the KC dial fiducial. If you set up the PTO at 2.5mc and centered on the MC dial and 0.00 on the KC dial, the EPE is spread from the center to end is 3kc on each side of center which isn't bad and quite correctable with the dial fiducial. Unless you're really ODC and you use your 51J receiver as a frequency meter, the work involved along with the risk of potentially serious damage being the result of tampering with the internals of the 70E-15, you might really want to put the slight 0.1% error into perspective. I don't usually do the L002 trim because the error is easily correctable using the KC dial fiducial (if the PTO is set up to 2.5mc output at center band.) But most of the time I just do the "frequency versus dial readout" adjustment in my head. EPEs in excess of 8kc are another issue,...and even working with L002 might not cure the problem of EPE without introducing a linearity problem or reducing the span of adjustment to zero, or both. 
 

Rebuilding the Collins 51J Series Receivers

 

Rebuilding a 51J-2 Receiver
 

Origin of the Primary 51J-2 - I was initially given a cosmetically very nice 51J-2 by my old ham friend, W7ZCA, Paul Eisenbarth (now SK,) in exchange for re-capping his Collins 75A-4 receiver (this was around 2007.) Paul had been given the 51J-2 at sometime in the past and had done some rework on it. At one point, Paul had the receiver setting on the floor of his workshop with the bottom RF shield off, exposing the ten crystals of the Crystal Oscillator circuit. Paul's young grandson, who was probably about 4 years old then, found the temptation of the small shiny and removable crystals irresistible and pulled all of them out of the holder and hid them around Paul's workshop. This removal and hiding was all accomplished while Paul was off in another room. In fact, it was several days before Paul even noticed that the crystals were missing. Of course that was enough time for his grandson to forget where he had hidden all ten crystals. Paul was able to find a few of the crystals but seven were still missing. A telephone call to International Crystal Manufacturing Company had surprising results. After Paul told the sales person the story of how the crystals came to be missing, they found the story so charming that they sent an entire set of ten crystals for the 51J-2 to Paul - free of charge. Note: Unfortunately, International Crystal Mfg is no longer in business, 2022.

The crystals got the 51J-2 working again but there were other problems that seemed unfixable. The gearbox had severe wear that allowed the Megacycle control to be advanced maybe three or four bands before the gearbox would bind and jam up. You then had to rotate the Megacycle control back a band or two to undo the binding and then proceed forward three or four more bands. It was a cumbersome method but it did allow eventually getting to the desired band. Additionally, the Antenna Coil primary on Band 2 was open due to an excessive amount of RF accidentally injected into the receiver while operating on 160 meters. Paul had obtained another Antenna Coil but it was from a R-388 receiver (which doesn't have the primary winding on the coil.) 

So, that was the condition of the 51J-2 receiver when it was given to me. I tried to use the receiver with the worn gearbox but it seemed like sooner or later (probably sooner) it was going to break something in the gear train. I decided to look for a parts set to rob the gearbox from to correct the problem.

photo above: The 1950 Collins 51J-2 showing the metal dial bezel, the square illuminated Carrier Level meter, the green "ham band" highlighting on the megacycle dial scale and the Collins' winged emblem - all characteristics of the early 51J receivers.  (a 2007 photo)


A 51J-2 IF Transformer showing the coil structure beneath the ferrite shields. The typical problem will have the coil securing glue breaking and then the weight of the ferrite shield pushes the IF coils to the bottom of the coil form. This reduces the coupling between the IF coils and the overall IF gain.

Finding a Suitable Parts Set - After a few months, a suitable 51J-2 showed up on eBay. Nobody seemed interested in it since it was in fairly rough cosmetic condition. The operational condition was described as a "fun radio" - whatever that meant. So, two hundred dollars later I was the owner of another 51J-2 receiver. When the second 51J-2 arrived, I found out what a "fun radio" was - totally and incompetently reworked besides being non-functional with a repainted front panel in black paint with white rub-on lettering. I swear that the eBay photos were of a different front panel (probably a different receiver) but by the time I had the receiver, the seller had already pulled the auction photos (at the time there really wasn't too much a buyer could do except complain or give a negative comment.) It really didn't matter because all I wanted was the gearbox and that was in good shape.

The plan was to use two 51J-2 receivers to build up one nice condition, fully functional receiver. In checking over the two receivers, it seemed easier to use the chassis of the second receiver as the starting point and rebuild the entire receiver using the best parts from both units. This allowed me to skip the tedious removal of the gearbox which certainly would have resulted in several extra steps to synchronize the switching.

The second receiver had been incompetently reworked and several of the front end coils had broken wires that were their connections to the trimmer capacitors. Also, all of the high quality tubular ceramic capacitors had been replaced with cheap disk caps. I decided to strip out the receiver from the front of the IF section back to the audio output and start over. I reinstalled the high-quality tubular ceramic capacitors harvested from the first 51J-2. I rebuilt the entire front-end of the receiver to repair the many broken coil leads. I had to replace the third conversion input coil because it looked like it had been burned. All parts used were either new parts or good ones harvested from the first receiver.

Once the electronic rework was complete, the front panel, the knobs, the megacycle drum dial, the meter and many other parts were transferred from the first 51J-2 to the new rebuilt receiver. I ended up with a great looking, complete 51J-2 - but how did it work?

Troubleshooting - Upon power-up the new rebuilt 51J-2 seemed to be working fine. I performed an alignment and the receiver worked fine - or did it? After about 30 minutes of operation the sensitivity dropped down to where signals barely moved the carrier level meter. From the start, the audio would distort if the RF Gain control was higher than 8 when in AVC. Clearly, there were a few more bugs to work out before the receiver could be called "complete and working." However, other projects came into the shop and the 51J-2 was put on the shelf and temporarily forgotten.

In fact, "temporary" ended up being about three years before I got back to the receiver. I had recently been told that Paul W7ZCA had become an SK and that had me reflecting about all of the "deals" we had exchanged over the years. I remembered the 51J-2 and thought that I should probably finish that receiver since it was such a nice looking example of a fairly rare Collins. This was in September 2010.

The strangest problem was the erratic variable gain of the receiver. When on the bench in the normal position the gain was down but when the receiver was placed up on its side to troubleshoot the gain would then be somewhat normal. I could even tilt the receiver about 20 degrees and get the gain to go up and down with just a slight change of the angle - weird.

To narrow the problem down I used a clip lead type scope probe and measured at various points in the receiver while tilting the receiver back and forth on the bench. I had to inject a fixed-level signal into the receiver's antenna input so I knew the variations in the gain were occurring because of a fault and not the signal level changing. I could see the gain change problem was occurring just past the first IF amplifier tube. All components and the tubes had already either been checked or replaced except the IF transformer itself. I removed the IF transformer cover and discovered that the coil and the ferrite shields were at the bottom of the mount and loose. Apparently, moving the receiver around changed the position of the IF coil which changed the coupling and resultant gain. Upon removing all of the IF transformer covers, it was discovered that every IF transformer had loose coils, loose ferrite shields or both. Complete removal and rebuilding of all of the IF transformers was necessary. I used epoxy to secure the ferrite shields in position. I actually used the IF transformers from the first 51J-2 because they were in better overall condition but still required securing of the ferrite shields to prevent future problems. Upon power-up, I had more gain through the 51J-2 than ever before and an IF alignment only improved the response.


photo above: The 51J-2 after rebuilding - Sept 2010

 
1950 51J-2 Installed in a Collins cabinet (2013 photo)

Although I thought that the IF transformer problem solved everything that was wrong with the 51J-2, I soon discovered that the AVC would cause distortion after several minutes of operation. I had already replaced all of the tubes in the receiver with a set that checked fine on the TV-7 tube tester. However, you can't find all tube problems with a tube tester. Once the AVC started to cause the distortion, I replaced the AVC amplifier tube with no change in the problem but changing the Dectector/AVC Rectifier tube cleared up the problem. I had already rebuilt that entire section of the receiver so I was sure the problem had to be tube related.  NOTE: Most of us don't leave the "tube being tested" installed in the tube tester long enough for these types of problems to develop. With enough time in the tube tester, I'm sure the tube problem would have become apparent. Fortunately, these types of tube problems are uncommon.

An additional problem was only on the AM BC band or Band 1. Low gain was the result of a defective mixer coil that appeared to have gotten very hot. Fortunately, the first 51J-2 receiver provided a good condition coil. These coils are easy to replace as they are only held in place by two tangs that have to be pushed inward to dismount a coil and "snap" into place when installing the coil into the mounting hole. The wire leads are the same diameter as the coil wire itself and the connections to the trimmer capacitors are fairly delicate so care must be taken in the removal and installation.

A full IF/RF alignment had already been performed early on the receiver and a quick touch-up was all that was necessary for top performance that is at or better than the original specs. Audio is fairly nice as I did replace the .01uf across the audio output transformer with a .0047uf to increase the high frequency audio response (I may change this back to .01uf in order to maintain the original "51J-2 sound" - Jun2023.) I usually run the Collins 270G-1 loudspeaker with this 51J-2 and that gives just a little bass discernable on strong SW BC stations or AM BC stations. Reception of ham AM stations benefit with the increased audio highs with better intelligibility. But, the 51J-2's audio is still communications-grade, not high fidelity.

Photographic Details on the 51J-2 - Five Photos

1.

2.

1. The top of the chassis of a 51J-2 receiver showing the earlier 70E-7A PTO. Under the metal shield on the PTO is a metal octal 6SJ7 tube. In front of the PTO tube is the glass holder for the desiccant that protects the PTO from moisture ingression. Otherwise the receiver is very similar to the later 51J-3 and R-388 receivers.     2. Close-up of the 70E-7A PTO

3.

3. The back of the 51J-2 showing the unique slanted top cover that is used on all of the 51J Series receivers. The top cover must be installed even if the receiver is installed into a cabinet. The top cover shielding eliminates the spurious oscillations that will be tuned at various frequencies throughout the tuning range ("birdies.") Note the ID plate - this is NOT standard. The ID information is typically silk-screened to the rear of the chassis. This particular 51J-2 had holes drilled thru the information so a suitable "data plate" was made from the derelict "parts set" 51J-2 chassis. The original AC line cord was a two conductor black rubber "zip cord" but nearly all receivers will be found with a later heavy-duty power cable installed (as shown.) 

(All five photos shown were taken in Sept 2010)

4.

4. The underside of the a 51J-2 receiver showing the smaller bottom shield that only covers the front-end of the receiver. Note that the bypass capacitors have been replaced on this 51J-2 while the .01uf tubular ceramic capacitors are still in place.

5.


5. One common problem encountered on the 51J-2 receiver is inside the IF transformers. The entire lower coil and ferrite shield have loosened and have slid down to the bottom of the transformer. This reduces coupling and output level of the transformer. To correct, the IF transformer must be removed, the coils put back into their proper position and then secured with epoxy to prevent future movement. Rough handling of the receiver such as "slamming" in down on a work bench or dropping it from a foot or so down onto the pavement at a swap meet is the probable cause. Out of six J-2 IF transformers inspected, from two different receivers, five transformers had this problem.

 

Rebuilding the R-388/URR Receiver - A Basket Case


The R-388 is the most commonly encountered version of the 51J series of receivers. About 12,000 were built for the military over a period from 1950 up to 1962. As a result, parts should be fairly easy to find which makes a rebuild easier to accomplish. However, just because there should be lots of spare parts and parts sets around doesn't mean that the needed parts will be easy to find or will be cheap - they aren't. Mainly because of the "Collins" name but also because any parts taken from any R-388 then almost relegates that receiver to "not restorable" status which can be a difficult decision for the owner to make. But, in the past few years, it's become fairly common to find some R-388 parts being offered for sale on eBay. So, while you might not be able to find a complete Crystal Filter assembly for sale, finding 70E-15 "M" PTOs is easy and many of the power supply parts are also easy finds. The good news is that more and more R-388 parts are showing up for sale these days.

The following "basket case" is not typical of that status since most of the parts were present. It was just that the receiver was mostly disassembled and the former owner had no intention of future reassembly - ever!

The Basket Case - 2013 - A friend of mine had the luck to find three R-388 receivers locally. They had been listed on Craig's List. His telephone call to me was mainly for advice on how to "power-up" the three receivers. I told him that typically R-388s will pretty much work "as found" but it would be a good idea to thoroughly check the filter capacitor and to test all of the tubes before applying AC. This was accomplished but he found that none of the receivers seemed to work. I was asked if I would "take a look" at them. We made a deal that I would service and align the two best receivers in trade for the worst of the bunch which, by this time, had been disassembled for parts needed in the other two receivers.

I delivered the two serviced and aligned R-388s and picked up the "parts set" R-388 while at a ham swap meet in Reno. What I got was the R-388 chassis, the front panel and a box of parts. The gearbox and the main band switch had become de-synchronized during some of the disassembly. Also, about half of the tubes were missing as were nearly all of the screws. My friend sent the missing screws to me through the mail. I had plenty of tubes so that wasn't a problem. Really, all that was necessary was to put the R-388 back together and go from there.

The front panel was in exceptional condition and had been cleaned by the former owner (a machine oil rub was applied to the wrinkle finish after cleaning.) The kilocycle glass was missing but I had a glass piece from a "parts set" 51J-2 that fit correctly. When I purchased a "parts set" 51J-2 to complete the rebuild of another 51J-2 receiver I was lucky enough that the "parts set" 51J-2 that had an almost perfect R-388 megacycle drum installed. Fortunately, the original 51J-2 megacycle drum was excellent so I really didn't need the R-388 one that came with the "part set." It was so nice though I saved it and wrapped it up in plastic to protect it. So, here it was a few years later and I was rebuilding an R-388 that had a very well-worn megacycle drum. Obviously, that "saved" megacycle drum had "saved the day."


photo above: The R-388 chassis after restoration. Note the megacycle drum - this is an original drum scale, not an overlay. Note the plastic bag piece on the Crystal Filter housing. These bags usually contained some spare parts, connectors, etc. The alignment tools are reproductions.

Synchronizing the Band Switch to the Gear Box - This is really much easier than it sounds. Since the gear box has mechanical stops at each end all that is necessary is to know which way the Megacycle knob is rotated to change bands in the proper direction. Since counterclockwise rotation increases the frequency, rotation clockwise to the end stop would be the .5 to 1.5 mc band or Band 1. Once Band 1 is in position then a check of S-106 can be visually accomplished to see where the arm of the switch is. By checking the schematic versus looking at S-106 it was determined that the switch was actually on Band 2 and all that was necessary was to loosen the set screws on the coupler from the gear box to the band switch and then rotate the switch shaft until Band 1 was in position and then tighten the coupler set screws. Rotating through all thirty band positions did verify that the switch rotated from position 1 to position 16 and then from Band 17 to Band 30 the switch shaft did not change position. Then when returning from Band 30 down to Band 17 no change in the switch shaft position but with Band 16 on down to Band 1 the switch shaft did rotate correctly and stop in position one. NOTE: S-106 doesn't change position from Band 17 to Band 30 because it selects the ANT/RF/MIXER coils and the same coils are used for the entire 16.5mc to 30.5mc tuning range. The position of the slug rack changes for each 17-30 Band selected. While doing these tests all of the other movements of the slugs and slug racks were verified and no problems were noted.

Dial Drum Drive Cable and MC Dial Pointer Cable - These are special metal cables that have a plastic covering over them. Luckily, both cables were present but were loose in the box of parts. I think the cable material is available from various Collins suppliers and the dimensions and installation instructions are in the manual if your R-388 is missing these cables.

A Different Carrier Level Meter - Most R-388 receivers will have a Burlington sealed carrier level meter. These high quality meters have a metal housing and metal scale. The meter installed in this R-388 was built by Marion Electric Instrument Company. Probably a field replacement. It has a convex face with gloss finish mounting flange with a sealed metal housing. The Marion Electric meter has a triangular Signal Corps acceptance stamp in orange paint applied to the rear part of the meter housing.

Knobs and Tubes - Since this R-388 was a "basket case" it naturally didn't include all of the knobs or many of the tubes. Luckily, I had a complete set of Daka-Ware knobs that had come with the "parts set" 51J-2 receiver. I did have to search through the junk box to find a set of Daka-Ware kilocycle and megacycle skirted knobs since those weren't on the 51J-2 "parts set." Most of the tubes missing were the 6BA6 tubes. In fact, the R-388 uses seven 6BA6 tubes. Also, missing were the two 6AK5 tubes, the three 6BE6 tubes, the 6AQ5 and the 5V4 rectifier. All tubes were found in the tube "junk" boxes. All tubes used in the R-388 should test well above "minimum acceptable" for best performance. Repro ID Tag - As can be seen, this receiver originally had two data plates installed that had been removed in the past. The center tag was the serial number identification plate and the tag to the right was a "Caution" tag that informed the user to refer to the TM manual. Luckily, there are a few repro tags available from Mike Chanter (Collins Radio Association.) He supplies a 1950, 1953-54 and 1957 type tags. Since this R-388 was probably built on a 1951 contract, I should have gotten the 1954 tag but instead I bought the 1950 version. The thinking was that the MFP date of  "JAN 52" would have to be from an earlier build, thus the 1950 tag. However, knowing that Collins built R-388 receivers an put them into inventory for later contract sales, maybe the 1953-54 tag would have been a better choice. NOTE: THE original data plate found, or was it?.
Interesting Find - What's a USN acceptance stamp doing on an Army receiver? - I didn't pay any attention to this when I was doing this rebuild in 2013. I only came across it again ten years later! Just recently, in 2023, I wanted to examine the "original" data plate closely and when I dismounted it what should I find under it, stamped on the front panel, but a "Navy Anchor" acceptance stamp! I thoroughly checked over the receiver, looking for any of the usual Army SC acceptance stamps but NONE were found. The CL meter has an orange triangle, the typical SC-type stamp. But, this meter is one that I bought off of eBay and restored so it's not original to the receiver. But, the Marion Electric meter that was installed in this R-388 also had an orange triangle SC stamp but it's likely that meter was a field replacement. So, the Navy Anchor is the only "original" mil-stamp on the receiver and it was covered-up with an Army data plate. The implication is that this receiver started out as a Navy R-388 but ended its military career as an Army receiver. Note in the photo below, very faint in the upper right corner of the panel is the Army SC acceptance stamp.

Maybe this isn't unusual because navy-radio.com has a photo of R-388 with an white Navy Anchor stamp that has an orange triangle Signal Corp stamp directly over it and also has several listings of receivers that have both Navy and Army stamps!

Restoring the Dial Bezel - The dial bezel had been broken at one time and glued together to repair. The break was at the bottom of the bezel - an area hidden by the skirt of the main tuning dial. There was also a chip in the opening for the kilocycle dial glass. I decided to use an epoxy fill to repair the break because there were some missing sections. Tape dams were used and epoxy was layered to complete the fills. After the epoxy had set-up the areas were leveled by filing and then polished. Usually I would have used black power coloring for the epoxy but I didn't have any around so I carefully applied jet black nitrocellulose lacquer and polished this to match the bezel bakelite. To finish the bezel required filling the engraving "MEGACYCLES" and "KILOCYCLES" along with the "tick marks" for the kilocycle index. I used Artist's Acrylic mixed to a manila color and applied with a brush. The fill paint is left to set up for one minute and then a paper towel piece dampened with Glass Plus is used to remove the excess fill paint. The end result was a bezel that looked great and had repairs that were very difficult to see. (see the Update for July 17, 2016 at the end of this section regarding an original replacement bezel for this receiver.)

New Power Cord - The original power cord had been cut on this R-388/URR. The plastic strain relief was broken when trying to remove it. Fortunately, most larger hardware stores carry the correct type of power cable and also the same style of plastic strain relief.
 

photo left: The R-388 "basket case" immediately after restoration (Oct 2013.) Those aren't the correct grab handles. The meter is a Marion Electric field replacement. See below for updated photo of this receiver

IF and RF Alignment - The alignment procedure in the TM has a few steps that are outdated. This is because today we have easy access to digital frequency counters that are extremely accurate. When the TM directs you to use the R-388's Crystal Calibrator to "beat" against the signal generator's 500kc input to be sure that it is accurate, it's because back in 1950 that was the most accurate way to assure that 500kc was the input signal. Today's digital frequency counter (or synthesized signal generator) is just as accurate and much easier to use. I like to check the Crystal Filter's crystal frequency just to be sure. Usually that crystal is within 0.01kc or so of 500kc but I use that frequency of the crystal as the IF. This assures that the Crystal Filter works great (and they will - if you take care in the IF alignment.) The TM directs you to "de-tune" the IF transformers with a series RC load consisting of a .01uf capacitor and a 4.7K resistor (a simple shunt-LP filter.) The instructions are very specific as to where to connect the RC load for each IF transformer adjustment.*  Since the load is to chassis-ground, only one end has to be moved each time and using short clip-lead connections works fine. Though the special alignment tools (that are always missing) will help with the alignment they are not strictly necessary. Reproduction tools used to be available and if you can find a set they are worth having. I think the original type alignment tools make the trimmer caps easier to adjust but not the slugs. The IF transformers are also easier adjust with the proper alignment tool.

* I believe the RC load is to isolate the 500kc IF and prevent it from mixing or interacting with the crystal oscillator or the PTO during adjustment since the bottom cover, thus the normal shielding, has to be removed to adjust the bottom slug in the each of the IF transformers. Many IF alignment procedures of single conversion superheterodynes instructed the technician to remove the Local Oscillator tube when performing the IF alignment for the same reason.

Variable IF and RF Alignment - Signal is injected into the Antenna Input SO-239 connector. Align the Variable IF sections first. There are two sections, odd and even, requiring different frequency inputs. Alignment is standard in that the trimmer caps adjust the high end of the range and the slugs (inductance) adjusts the lower end.

RF tracking is straight forward but you will only have to adjust six ranges as the remainder of the bands are tracked by oscillator heterodyne action.

Mechanical set-up of the kilocycle dial and the PTO should have been performed before the tracking alignments. All 70E-15 PTOs will have some end-point error unless they are removed and calibrated. If you are satisfied with the EPE and it happens to be a few kilocycles then be sure to "rock" the signal generator frequency at each calibration dial frequency rather than changing the actual dial readout. For example, if you have to align to 7.40kc but the actual peak output is on 7.402kc, then use 7.402kc on the signal generator and 7.40kc input on the receiver and then adjust the proper trimmers or slugs for peak output. Always set the receiver frequency and then "rock" the signal generator for peak diode load, then adjust the slug or trimmer. The more end-point error there is in the PTO the further out this procedure becomes but for just a couple of kilocycles of error it works fine. The correct procedure would be to rework the PTO for zero error and then all of the tracking will be accurate. Remember that the tracking accuracy is in the PTO and the crystals in the crystal oscillator. The slugs merely align the tracking of the Ant, RF, Mixers and the Variable IF and affect the overall gain of the receiver.

Some Rebuilds are Never Finished

As restorers, we're never, ever really quite through with a project. We're always keeping an "eye out" for parts that would either enhance our restorations, or, to maybe add a "missing part." That's the case with the "Basket Case" R-388 profiled above. Seven years later and we're still looking for a "CAUTION" tag,...but the receiver still works great.

UPDATE: Finishing the Rebuild? - July 17, 2016 -  Our first find was to add the original data plate,...not an original,... THE original (or, at least I thought it was the original at the time.) Not too long after I had reassembled the R-388 I was able to talk the fellow who had removed it into trading the original data plate for the reproduction tag I had on the receiver. Now the data plate reflects that this R-388 is from a 1951 contract. The unfortunate part of this trade was that just in the short time this guy had the original tag he had scratched out the original data plate serial number and tried stamping another number. Why? I think he had stamped the Collins SN that was on the rear chassis so the two SNs would match on his R-388 (they shouldn't match!) I removed the number he had stamped and cleaned up the serial number area but since I don't have the correct way to stamp a number, I've just left it blank - even though it IS the original tag - or is it?  NOTE: Close examination of the back of the data plate does reveal the number "701" had been stamped originally. I'm going to assume it's correct for this receiver but, in reality, considering where the receiver came from, along with the USN anchor acceptance stamp that was under the Army tag, I can't be sure that this tag even is the "original" data plate,...As a follow-up see UPDATE for June 6, 2023 below.  

The second find was probably a year later when a nice condition Burlington carrier level meter showed up on eBay at a reasonable BIN price. It was acquired and restored. Then the Marion Electric meter was removed and the Burlington meter installed.

About six months later at a mid-July (2016) local ham swap meet there was a "FREE" R-388 front panel. It was in very rough condition and missing almost everything but it had nice original grab handles and a perfect escutcheon. These pieces were removed, cleaned up and then installed on my R-388 (note in the 2013 photo above that the grab handles are "close." The jam nuts and the mounting screws were incorrect.)

UPDATE: Feb 28, 2023 - The new 2023 photo to the right shows the R-388 "Basket Case" today, seven years after completion,...well, as complete as it's probably going to get,...maybe. This R-388 is still fully functional.

1951 R-388/URR - ORDER: 3131-PHILA-51 - Mil SN:701 - Collins sn:1743  -  Feb 2023 photo
 


Collins SN: 1743 is now: 1952 R-388/URR ORDER: 3357-PHILA-52 Mil SN: 95  -  June 2023 photo

UPDATE: June 6, 2023 - We Really Aren't EVER Finished with a Restoration - "METAMORPHOSIS" - After casually "keeping an eye out" for a "CAUTION" tag for this receiver over the past seven years, an original R-388 data plate and the Caution tag (with mounting screws) showed up on eBay. The tags are from Order 3357-PHILA-52 (a 1952 contract) with the serial number of "95" stamped in the appropriate space. The old data plate that I had installed on this receiver had "serious problems" - first, I wasn't ever really convinced that the "old" data plate was even the "original" data plate. After all, it wasn't installed on or even with the receiver when I obtained the "basket case" parts (and later, I wasn't even really sure that the guy traded me the actual data plate off of this receiver.) Second, the "old" data plate had been mutilated, re-stamped over the original SN, again the area was mutilated to remove the incorrect SN and now it doesn't have any number stamped at all. Because of the "old" data plate's issues, I've installed these "correct" tags making the "Basket Case R-388" receiver now SN:95 from a 1952 contract. Considering how R-388 receivers were pulled from Collins stock as assembled receivers, then QC'd and then a data plate/serial number applied, with an additional note that, after examining the relationship of serial numbers to MFP dates (most 1951 contract and 1952 contract receivers both will have MFP dates of Oct. 1952,) it seems that the 1952 data plate SN: 95 would be appropriate for this receiver. But, as I've mentioned before in this write-up, if "known" non-original data plates are installed, one should write in pencil on the back of the tag that it's "not original" to the receiver. That way, in the future, if the authenticity ever comes into question, the back of the tag will inform the investigator that the data plate is from another receiver. When these receivers were serviced, aligned or worked on in the Signal Corps Army depots, I suspect that every so often tags were swapped when there was a legitimate reason to do so. This receiver, with having the USN Anchor ink-stamp, actually calls into question the originality of any Army data plate. So, the installation of these "vintage authentic" Army tags doesn't seem like it compromises history too much.
UPDATE: Oct 15, 2023 - The "Morph" (short for Metamorphosis) R-388 has been mounted in a 30" tall table relay rack along with the Pseudo R-388A and a rack mounted 600Z loud speaker panel since May 2023. I use a cable from the 600Z speaker with a PL-68 plug on the end and plug into the SPEAKER jack on the receiver I intend to listen to. On the right side of the rack is a two-position antenna switch (with center-grounded position) that allows only one antenna input connection and then select the receiver to be used at the antenna switch. I got a chance today to actually use the rack mounted "Morph" R-388 along with an ART-13A transmitter on Sunday's Vintage Mil-Rad Net, 0730hrs on 3974kc. The receiver performance was excellent, audio pretty nice and dial cal acceptable (off 1kc.) All signals Q5 with local signals running 60db on the CL meter and most others running about 40db. I think this is the first time that I've used this "former basketcase" R-388 as a station receiver. So, after ten years of just performing occasional SWL-duty, it did a good job in an "on the air" capacity.

UPDATE: June 21, 2024 - New Owner - As part of an attempt to help out a budding SWL, I was talked into possibly selling SN: 1743. I brought the receiver over to the SWL's house (in Reno) and after about an hour of trying to get the R-388 to receive any signals essentially without an antenna, I found that what the SWL really wanted were the capabilities of a SDR receiver in a vintage-looking package. The R-388 can't perform a function like that. The SWL was unwilling to install any type of outside wire antenna and wanted to use a small indoor loop, expecting it to perform like a 150' outdoor wire. It all ended in frustration. However, also present at this demo was John KB6SCO and Andrew KF7BNQ (both of whom I've know for years.) As soon as the SWL had made his disappointment with the R-388 clear and I told him there wasn't any problem with him not buying the R-388, Andrew "cornered me" and asked if I would sell SN:1743 to him. I had noticed that Andrew had been "drooling" over the R-388 since he had gotten there and was carrying the R-388 manual around (and reading it.) That made me very happy because Andrew KNEW what the receiver was and he KNEW how to operate it and get the most out of it. So, the deal was made and now SN:1743 belongs to KF7BNQ.

 

R-388/URR - Expected Performance and Operation

I've worked on many R-388s and this of course includes many full alignments. Probably the most important improvement that can be performed on the R-388 receiver is to do a full alignment. It's surprising how far out the alignment can be and the receiver still seems to be performing fine. So, this evaluation of R-388 performance is for receivers that are in good condition and have had a recent full IF and RF alignment.


The R-388 is probably the overall best performer of the entire 51J Series for vintage AM ham stations. This is because it doesn't have the mechanical filters that were installed in the 51J-4 receiver. Though the MFs are great for SSB and CW, the 6.0kc filter is not particularly ideal for AM reception. This is because Collins' engineers were thinking "communications" (and primarily data communications) and not wide-bandwidth audio reproduction. The R-388 relies on the designed-in bandwidth of the fixed IF section of the receiver which is probably around 6.0kc at 6db down or perhaps a little bit wider (it's rated at 12kc at 60db down.) However, the IF passband curve is a little more bell-shaped rather than the steep slopes and flat tops of the Collins' mechanical filters. So, the first "plus" is the IF bandwidth of the R-388 for AM reception. The audio output 6AQ5 does have a capacitor from plate to B+ for impedance matching which on the earlier J-1 and J-2 receivers noticeably limited the upper audio response but the R-388 changed the value of this capacitor to 6800pf which doesn't affect the audio response. So, you should expect your R-388 to sound just a little limited in the upper end of the audio range but most listeners find this audio to be "pleasingly mellow."

Dial accuracy is legendary and is plus or minus one kilocycle if the receiver is calibrated to the nearest 100kc point on the particular band in use. Ultimate accuracy is limited by the 70E-15 "M" PTO which is also legendary for its end-point error problems. Most R-388s will have around 6kc of EPE which is about the limit that can be adjusted out. Greater EPE requires PTO rework to correct. When the EPE is adjusted out, the receiver is dead-on accurate. Unfortunately, the 70E-15 "M" PTO must be out of the receiver to perform the EPE adjustments. There are some right-angle special tools that have been built by enthusiasts that allow the adjustments to be accomplished without PTO removal but they are difficult to use. Even with the PTO out of the receiver a special tool is required for adjusting the L002 trimmer. Most of the time, if there's the typical >6kc EPE, the PTO has to come out of the receiver anyway.

Stability is solid and drift-free. Sensitivity is competitive. Are there more sensitive receivers? Certainly, but with today's high-level of RFI and EMI that plague most urban areas (and seems to ever be on the increase, even in rural areas) what good is .25uv sensitivity when the background noise runs S-9? Far more important today is the ability of a receiver to operate well in a noisy environment and to have QRM-fighting tools that work. The R-388's selectivity is designed into the conversion schemes and the fixed-IF section but is further enhanced by the use of the Crystal Filter. Why many hams refuse to use Crystal Filters is a mystery. CFs really do a good job at reducing QRM. On AM, select position 1 or 2 and adjust the Phasing for minimum bandwidth. Then tune the AM signal "on the noise." You'll find most of the interference is gone or greatly reduced. The AM audio will sound "muffled" but it will still be intelligible enough for communications. If adjacent frequency SSB activity is a problem then adjust the Phasing slowly and you'll find a point where the dominant audio frequency of the SSB QRM is attenuated substantially. Use the same procedure for SSB reception. For CW, with the CF on you can tune the CW signal off of zero slightly to find the "peak" response. The peak response can also be adjusted with the Phasing control and slight tuning of the signal. The Phasing control can be used to reduce specific audio tone frequencies, that is, to eliminate AM heterodynes. Heterodynes were quite common when there were a lot of AM signals on the ham bands but, nowadays, most AM activity is on nets and one doesn't usually encounter heterodynes too often. On CW, the CF can reduce interference from a nearby CW signal by this heterodyne elimination method. When trying to eliminate CW QRM or an AM heterodyne adjust the Phasing control slowly. The "notch" is very narrow and it can be easy to miss its effect on the interference if the Phasing is adjusted carelessly.

Break-in Set-up and Operation - Set-up for station receiver operation is somewhat involved since the Break-in function does require a separate +12vdc 200mA power supply that is switched with the transmitter's antenna relay auxiliary contacts. I built a solid state +12vdc power supply housed in a very small metal box. It could be switched on by connecting the AC input to the same transmitter terminals that drive the dow-key relay. Upon transmit, the +12vdc is actuated along with the dow-key T-R relay and the receiver is muted. However, I've set my Break-in PS to have the T-R relay auxiliary contacts switch the 120vac line voltage input to the Break-in PS which then has its +12vdc output going to the REMOTE terminals on the receiver. Although the Break-in PS is "plugged in" you don't have to worry about leaving it "plugged in" because the power transformer primary really doesn't have any voltage applied unless the T-R relay is switched to the transmit position and that would require the transmitter to be powered up. (I also have an old Radio Shack Micronta 12vdc power supply that I use for a 51J-4 Break-in supply. I wasn't using this little 2.5A power supply so it was perfect for the 51J-4 Break-in voltage.) Remember to always provide the Break-in function for the R-388 as this disconnects the antenna within the receiver, grounds the receiver input to protect the circuitry from excessive RF levels. Also, the Break-in connection at the rear of the receiver that is marked REMOTE is the ONLY place that you can connect the +12vdc and operate the Break-in relay (it's not actuated if the front panel STAND BY is selected.) There are three terminals provided for the REMOTE connection. Pin 1 is ground. Pins 2 and 3 are the connections to the K101 coil for actuating the Break-in relay. Since pins 2 and 3 are direct connections only to the K101 solenoid coil, observing polarity of the +12vdc when connecting to pins 2 or 3 isn't an issue. 

There are a couple of methods that can be used to provide the +12vdc Break-in voltage internal to the receiver. One method is to incorporate the small DC power supply inside the receiver chassis. The very small current requirements will allow very small components that easy can be placed under the chassis. However, an easier method is to incorporate a "voltage doubler circuit" that operates from the 6vac tube heater supply to supply the +12vdc. This only requires two silicon diodes and two electrolytic capacitors, so it's even easier to place under the chassis. Wiring in either case can be installed to allow a "closed" condition from the T-R relay auxiliary contacts during "transmit" to be applied to the REMOTE pins 2 and 3 which would then apply +12vdc to K101 to actuate "Break-in."

Speakers & Antennae - When comparing the two audio output impedances available, the resulting audio quality will be dependent on the loudspeaker used. With a good quality matching transformer, decent audio is available from the 600Z output. For the Collins speakers, if you have the Collins 270G-1 (8" speaker) or 270G-3 (10" speaker,) either of these are fine 4Z loudspeakers to use with the R-388 or any of the 51J receivers. Incidentally, an easy way to connect the loudspeaker is to use the front panel phone jacks. Be sure to note that the PHONES is a standard .250" jack and the SPEAKER is a three-circuit .187" jack (ring and shell are tied together and connected to chassis with tip being the 600Z output.) For 600Z, use SPEAKER and for 4Z use PHONES. The phone jacks are direct connections to the rear 600Z and 4Z terminals. Also, when using a 600Z headset, plug into the SPEAKER jack. There are very low impedance (4Z) headsets available and they can be used by plugging into the PHONES jack. When the receiver was set-up with an external 4Z speaker load a radio operator could temporarily plug-in a HI-Z set of phones into PHONES for monitoring and not affect the speaker output.

Using a Shielded Magnetic Loop Antenna - Though the R-388 will "pick-up" some signals with a minimal antenna the absolute best performance is with a full-size, resonant or impedance-matched (tuned) antenna. This, of course, is true with just about any receiver. With a first-class antenna, the R-388 will hear everything that is on the air with propagation conditions or local EMI/RFI being the only limitation. I've also successfully used a Pixel Loop (a shielded magnetic loop antenna) for general listening and its "broadband" nature (no tuning is required for 100kc to 30mc coverage) makes using it as a receive antenna very convenient. Although the Pixel Loop will do a fine job, the signal level difference between the loop and a full-size "tuned" antenna is usually noticeable. However, in EMI/RFI noisy environments, sometimes a shielded magnetic loop antenna like the Pixel Loop, can provide some "noise" relief. EMI/RFI can be a problem on 80M and it can be devastating on 160M. Higher frequencies tend to be less impacted by EMI/RFI noise. In using a Pixel Loop for testing of various 51J receivers, I can say that I've never heard a signal received on the large wire antenna that I couldn't also hear using the Pixel Loop. The signal might not be as strong on the loop but it will be heard.

If your local QRN and your QTH allows it, using a full-size "tuned" dipole antenna will result in the best reception performance from the 51J receivers when you have general listening in mind. That would be listening to all ham bands but also listening to SW-BC or utilities stations or any interesting signals that the receiver can tune to. The "tuned" dipole antenna allows optimum performance at almost any frequency that the tuner can match to the antenna's impedance at that frequency. At shorter wavelengths (higher frequencies,) like the 20M, 17M, 15M and 10M ham bands, directional antennas with gain, like a yagi or a quad, are a real benefit to DX reception on those bands since these antennas themselves add gain to the signal being received. But, don't sell the shielded magnetic loop short, they work quite well and their broadband nature makes them very convenient to use.

 

1952 R-388/URR  ORDER: 3362-PHILA-52  MIL SN:161 (Collins SN:9108)   with  CY-1260/G  Military Receiver Case

This really isn't too much of a refurbishment or restoration write-up since there was very little to do to this excellent condition receiver. Just a basic clean-up, a few mechanical repairs, a new filter capacitor, some new tubes and a full IF/RF alignment. This write-up is more to show photos of some of the details on this very complete and almost all original R-388 and some photographic details on the seldom-seen CY-1260/G military case. This R-388 has special roller-wheels installed to the rear of the chassis implying that it had always been installed in the CY-1260/G during its military career and after.

I've had this 1952 R-388 in the CY-1260/G case for almost ten years. As mentioned in the proceeding R-388 write-up about the basket case R-388 receiver, a collector friend of mine had the incredible luck to find three bargain-priced R-388 receivers listed on the local Reno Craig's List in October 2013. After buying the receivers, he didn't really know how to go about getting them working so a deal was made with me for servicing and aligning two receivers in trade for what had become a "basket-case" R-388 receiver. The "basket-case" situation came about because of my collector-friend's attempts at working on relatively sophisticated receivers. Well, the write-up about the basket-case receiver tells that story. But, SN:161 was one of the two other receivers this fellow collector ended up with. The three receivers came to him installed in two CY-type cases. A double-decker case held two of the receivers and the CY-1260/G held a single receiver. This fellow kept the two cases at the time and I ended up with just the basket-case receiver. 

About six months later this fellow wanted some more radio work done. We made a deal for R-388 SN:161 and the CY-1260/G case (he had already sold the other R-388 and the double-decker CY-case.) So, the radio work was performed after which I took delivery of SN:161 and the CY-1260/G case. This was in February 2014.

Previously, all I had done to the receiver was to service it. Probably a tube or two and a full alignment and the receiver worked very well. But, I didn't do any clean-up or any mechanical servicing other than what was absolutely necessary. Six months later, after I got the receiver in the trade, it still worked fine. I used it "on the air" with a Collins 32V-2 transmitter for a short time and then put it into the upstairs storage room. There it sat for several years, hidden under a table that had a cloth skirt so I couldn't see what I had stashed under there. A recent 51J-4 purchase (12-2022) and subsequent expanding of this 51J Series web-article piqued my interest to the point where I finally had to extract SN:161 out from its longtime hiding place to refresh my memory about its condition.


1952 R-388/URR  ORDER: 3362-PHILA-52  Mil SN:161 Collins SN:9108   CY-1260/G RECEIVER CASE

Complete Inspection and Minor Updates - The first thing I noticed was the really cheap, molded plug-type power cord that was only about three feet long. Pulling the receiver out of the CY-1260/G is really easy due to the roller wheels but even though the R-388 is only about 35 lbs,...the military case weighs more! Total weight with the receiver installed in the case is over 70 lbs!

On the bench, I pulled the top and bottom covers. To my surprise, the R-388 was extremely dirty on the chassis top and, surprisingly, underneath the chassis was covered with dust, dried-up moths and spider webs. I know that didn't happen here in the last ten years. It was stored in a very clean almost dust-free room. I can't believe that I didn't even do a slight dusting the first time I worked on this receiver,...but I guess I didn't. The top of the chassis had a coating of what looked like "greasy garage grime." That's the type of gunk that requires some type of solvent to remove - WD-40 or rubbing alcohol and a small acid brush. The chassis rear apron also had a lot of grease on it that had to be removed with solvent and a brush. The MFP coating does a lot to protect the chassis so this type of grime can be removed easily without damaging the chassis metal finish or silk-screening. 

The crummy power cord was a three-conductor plug but only two wires were connected under the chassis - and even those were connected wrong. My collector-friend must have installed this after I gave the receiver back to him. I don't know why I didn't change the power cable when I got the receiver after the trade,...but I didn't (I don't even remember looking under the chassis at the time.) Obvious too was a new orange drop cap going correctly from the fuse holder to the tie point ground but the neutral wire was connected to the fuse holder (should be the hot-line wire going to the fuse holder.) With the neutral and the decoupling capacitor going to the fuse, the end result is the decoupling capacitor is connected "ground to ground" and not really doing anything.     >>>

>>>   So, this cable was removed and a complete three-wire cable installed with the correct vintage strain relief and a vintage three-pin power plug. The wires were routed for minimum length under the chassis and soldered. The orange drop was replaced with a vintage but tested good .01uf 1.4kv ceramic disk bypass cap. This isn't original but it looks much more appropriate than an orange drop. NOTE: Many of the R-388 receivers encountered will have three-wire power cables installed. Some appear to have been installed professionally, probably as an update or MWO, by an Army repair depot. I installed this three-wire power cable in the same manner as a depot would have.

The filter capacitor and 5V4G hold-down bracket had been cut down to only work on the filter cap and it didn't even do that properly. I had to dig through the junk boxes to see if I had another 51J-type bracket. I ended up replacing the dual 45uf multi-section cap with a good original 35uf multi-section cap and then using the standard flat bracket piece that has a grommet installed in the hole that goes on top of the multi-section cap. The original multi-section caps are about .75" taller than the replacement types. Although the replacements function fine in the circuit, they are physically too short for using the original flat bracket piece. NOTE: The 51J-4 used a "stepped bracket" to allow using the shorter 5V4GA tube. If you only have these later style 5V4GA tubes to install in a R-388 then you have to use the "stepped bracket." See one of the two 51J-4 chassis photos in this web-article for reference. Original for the R-388 would be to use the 5V4G tube, the original 35uf dual multi-section cap and the flat bracket retained with a wing-nut with a small spacer and lock washer.

I've set up SN:161 with a Collins 32V-1 transmitter with a two half-waves in-phase antenna (collinear array on 75M.) The receiver is using an old Radio Shack (Micronta) 12vdc power supply for the Break-in voltage. Below are 10 photos showing some close-ups of the receiver and the CY-1260/G receiver case.

R-388/URR SN:161 and CY-1260/G - Photo Gallery - 10 photos

1.

2.

3.

4.

1. SN:161 has its original alignment tools still in their holders

2. Close-up of SN:161 original data plate

3. SN:161 still has its original phillip's right-angle screwdriver. The clip holder is riveted to the outer backside of the top cover.

4. Close-up of one of the roller-wheels. These are mounted to the rear lower sides of the chassis of SN:161. The roller-wheels allow easy installation or extraction of the receiver from CY-1260/G military case.

5. Top cover of SN:161. All R-388 top covers will have a print of the schematic glued underneath. These schematics are generally the most correct version of the receiver circuitry, component values and component designations. Note also that almost all of the Bristol wrenches are present in the tool holder.

5.

6.

7.

8.

9.

6. Bottom-rear of CY-1260/G case showing rubber-cushion shock feet. Also the bottom and rear cut-outs

7. Close-up of one of the CY-1260/G side heavy-duty glide rails

8. Side louvers on CY-1260/G

9. SN:161 is the assigned serial number for the Army and that's what was stamped on the data plate. Collins had their own "in house" serial numbers that were assigned when the receiver was built and put into stock. To fill orders, Collins would pull completed receivers from stock, send them through QC and then assign the data plate serial number that tied the receiver to a specific contract. In this receiver, the Collins "in-house" serial number is 9108 and that number is ink-stamped on the front panel (located under the data plate) and punch-stamped on the rear of the chassis. This photo shows the Collins SN: 9108 on the front panel along with the data plate SN:161 on contract order 3362-PHILA-52. Weird that the Collins SN is such a high number. And, note,...the receiver doesn't have a Break-in Switch so it's pre-1953 manufacture,...hmmm.

10. Collins SN: 9108 punch-stamped on the rear chassis. The MFP ink-stamp isn't dated.

10.

 
 

 CONTINUE to Part 3                             GO to Part 1                                         Return to Home Index  

 

 

Radio Boulevard
Western Historic Radio Museum

 Vintage Radio Communication Equipment Rebuilding & Restoration Articles,

 Vintage Radio History and WHRM Radio Photo Galleries

1909 - 1969

- 60 years of Radio Technology -

 

 

This website created and maintained by: Henry Rogers - Radio Boulevard, Western Historic Radio Museum © 1997/2025